Este interesante juego de paciencia es muy simple de montar y puede utilizar componentes aprovechados de la chatarra. Un montaje ideal para los principiantes, que también desean aprovechar el resultado de sus actividades de modo recreativo.
Nota de la edición actual: por ser un proyecto muy simple con componentes comunes, se trata de montaje recomendado para principiantes y para cursos de tecnología del nivel fundamental.
En ciertas tiendas de componentes de São Paulo se venden placas de componentes tomadas de aparatos diversos como computadoras que son ricas en piezas sin identificación
La mayoría de las veces se aprovechan cientos de diodos que los lectores retiran, guardan y luego no saben qué hacer con ellos.
Pues bien, nuestro montaje se basa en diodos, y como los diodos usados pueden ser de cualquier tipo, he aquí algo en que finalmente pueden ser aprovechados!
Nuestro juego consiste en una especie de rompecabezas electrónico en la que el jugador debe encontrar la combinación de conexiones en un tablero que resulte en la puntuación más alta, es decir, 5 puntos.
Pasando el juego a varias personas en una ronda, se puede establecer una interesante disputa.
También vale en este rompecabezas la buena memoria en el sentido de ir guardando cálidas combinaciones que resultan en puntos altos y bajos.
Con adaptaciones este juego puede ser transformado en un "cerebro electrónico" de juguete, del tipo que responde preguntas, o sea, encuentra combinaciones de preguntas y respuestas para diversos asuntos.
En una versión actual del Maker del siglo 21, ¿qué tal controlar el circuito por un Arduino?
El montaje es extremadamente simple, y probablemente los únicos componentes que el lector tendrá que comprar serán los LED.
Como funciona
El principio de funcionamiento de este juego es muy simple: hay clavos de un lado y de otro de un tablero que son sometidos a la tensión de una batería, formada por 4 pilas pequeñas.
Entre los clavos hay varias conexiones unidireccionales, es decir, en que la corriente sólo puede circular en un sentido. Esto se logra justamente por los diodos, pues, coniforme ya vimos en otros artículos, estos diodos sólo pueden conducir la Corriente cuando están polarizados en el sentido directo. (figura 2)
Así, existe una especie de graduación entre las combinaciones de conexiones que se pueden hacer, y que resultan siempre en el encendido de un solo LED conectado entre los dos puntos en que la tensión es establecida.
Los LEDs siguen un patrón de conexión, pero no podemos identificarlos por la posición de los clavos en el tablero, ya que se distribuyen más o menos al azar.
El objetivo del jugador es, por lo tanto, justamente encontrar las combinaciones de conexiones que resulten en el encendido del LED que vale más puntos.
Es claro que, después de algún tiempo de uso, las memorias se memorizar :, pero será muy fácil cambiar las posiciones de las conexiones de los LED o de los clavos, por debajo del tablero y reutilizar por un buen tiempo el juego.
Montaje
En la figura 3 tenemos el diagrama completo del aparato.
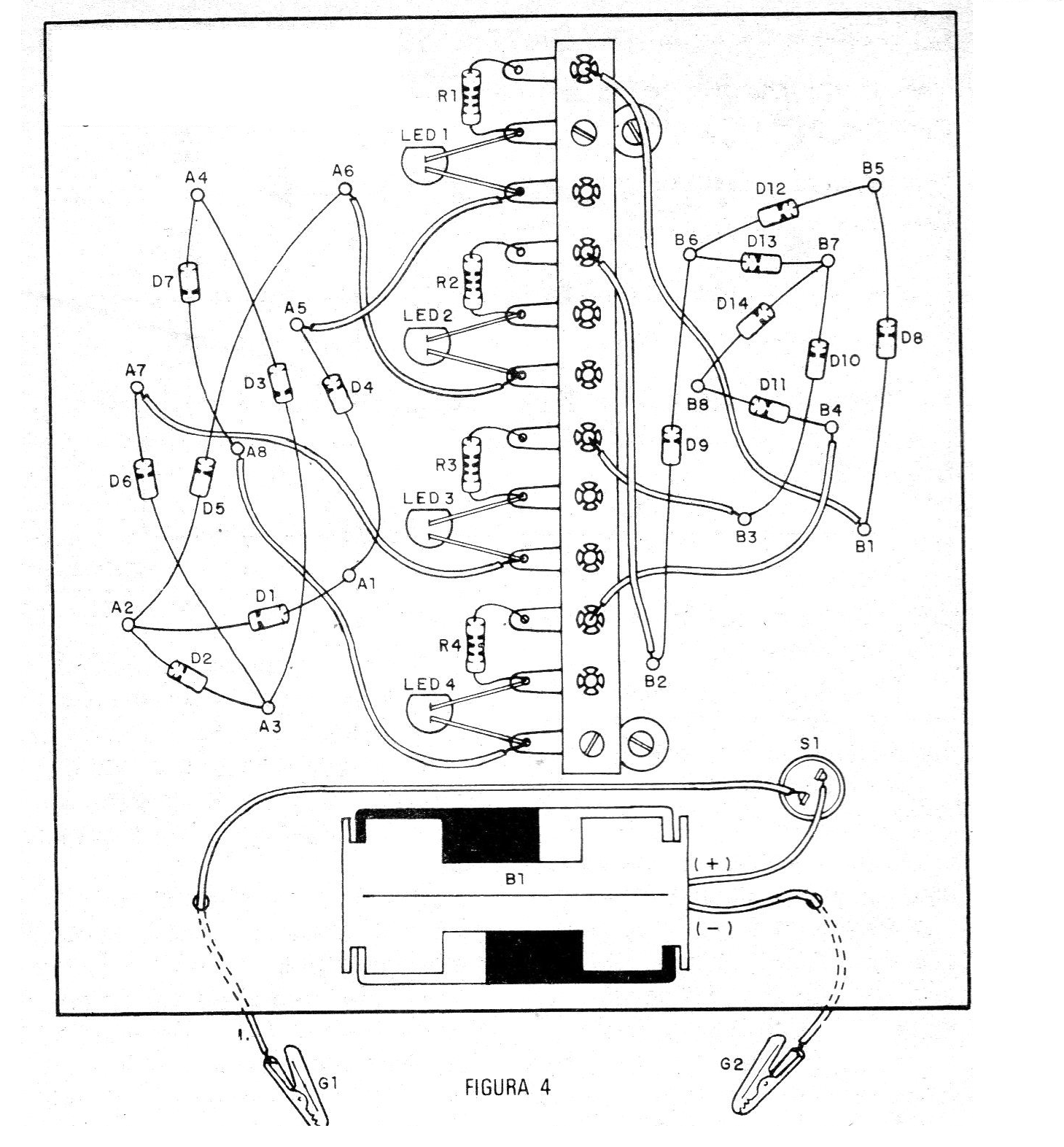
En la figura 4 damos la disposición de las conexiones en el tablero visto por debajo, con los LED y resistores soldados en un puente de terminales.
Observe que todos los diodos y LED tienen polaridad que debe seguir.
En los LEDs esta polaridad es dada por la parte aburrida del envoltorio y en los diodos por la banda.
Los clavos son vistos por debajo, es decir, deben ser tomados por encima del tablero de modo que sus puntas queden salientes abajo, donde son soldados los diodos.
Es muy importante que las conexiones sigan el diagrama de la figura 3, no importando el orden de colocación de los clavos, es decir, su posición, pues al contrario pueden ocurrir problemas de funcionamiento.
El soporte de pilas y el interruptor de presión (tipo botón de timbre) se montan en la bandeja. Dos hilos de unos 30 o 40 cm de largo Ieban las garras de colores diferentes que serán atrapadas en los clavos elegidos en cada partido.
Terminando el montaje, la prueba de funcionamiento se puede realizar inmediatamente.
Prueba y uso
Coloque las pilas en el soporte, luego conecte una garra en un clavo del tablero, elegido al azar, siempre uno de cada lado del tablero.
Presione el interruptor de presión. Sólo un LED debe encenderse.
Busque la combinación de conexiones que produzcan el encendido del LED de mayor valor.
Las graduaciones de puntos se pueden hacer de la siguiente manera:
LED 1 - 100 puntos
LED 2 - 50 puntos
LED 3 - 20 puntos
LED 4 - 10 puntos
Si algún LED no se enciende, o si alguna combinación no resulta en el encendido de LED, procure comprobar el estado del diodo conectado a los clavos contactados.
Puede estar abierto, lo que será fácil de suceder si se aprovecha de chatarra.
Lista de material
LED 1, LED 2, LED 3, LED 4 - LEDs comunes, de cualquier color
D1 a D14 - Diodos comunes de silicio de cualquier tipo (1N4148, 1N914, etc.)
R1 a R4 - 330 ohms x 1/8 W - resistores (naranja, naranja, marrón)
S1 - Interruptor de presión
B1 - 6 V - 4 pilas pequeñas
Varios: garras jacaré (rojo y negro), hilos, soporte para 4 pilas pequeñas, puente de terminales, clavos, hilos y soldadura.







