Un tipo de fuente de alimentación bastante simple y útil es la que no hace uso del transformador.
Si bien este componente es altamente recomendable, dado el aislamiento que proporciona, existen casos en que, por economía, limitación de espacio o por la no necesidad de una seguridad tan grande, se puede utilizar una fuente de alimentación sin transformador.
Estas fuentes aprovechan la reactancia capacitiva de un capacitor, normalmente poliéster de alta tensión, para reducir la tensión de la red de energía.
Después de eso se hace la rectificación, filtración y regulación.
Las fuentes sin transformadores típicas se utilizan para alimentar aparatos de bajo consumo como calculadoras, relojes y otros equipos similares cuya tensión esté en el rango de 1,5 a 9 V típicamente.
Las corrientes requeridas por estos aparatos no deben superar los 20 mA. Con corrientes mayores, los condensadores requeridos serían muy grandes, en cuyo caso el transformador empieza a tornarse más interesante.
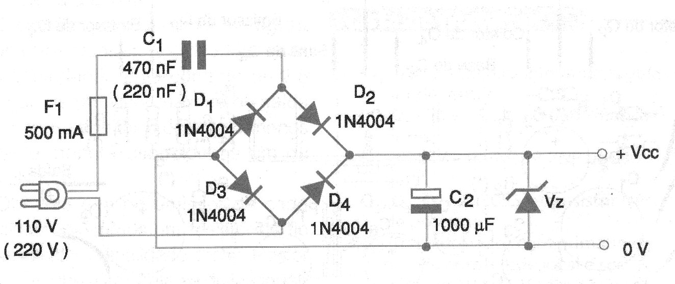
En la figura 1 tenemos entonces el circuito de una fuente sin transformador para corrientes hasta 20 mA.
El diodo zener determina la tensión de salida.
El capacitor de poliéster tiene valores diferentes, según la red sea de 110 V o 220 V. Los valores entre paréntesis son para la tensión de 220 V.
Su tensión de trabajo debe ser al menos el doble de la tensión de la red en la que se va a utilizar el circuito.
En la figura 2 tenemos una sugerencia de placa de circuito impreso para implementación de esta fuente.
Es importante tomar mucho cuidado con los aislamientos de todas las partes del aparato que debe ser alimentado y de la propia fuente, pues está directamente conectada a la red de energía.
Ningún equipo con partes metálicas o eléctricas expuestas debe ser alimentado con ese tipo de fuente.
Lista de material
D1 a D4 - 1N4004 (1N4007) - diodo de silicio
Z1 - 3,0 V a 12 V x 1 W - diodo zener según la tensión que se desea en la salida.
C1 - 470 nF (220 nF) x 300 V (450 V) - capacitor de poliéster para red de energía
C2 - 1 000 uF x 16 V - capacitor electrolítico
F1 - Fusible de 500 mA
Varios:
Placa de circuito impreso, cable de alimentación, hilos, soldadura, caja para montaje, etc.





