Una de las aplicaciones inmediatas para el circuito integrado 555 es como temporizador accionando directamente un LED indicador. Damos nuestro circuito, bastante simple y que puede ser utilizado en diversos momentos como, por ejemplo, en el laboratorio, en juegos, para intervalos de tiempo de hasta poco más de media hora. Otra utilidad importante es en baños de revelado, reacciones químicas, tiempos de cocción o aún corrosión de placas de circuito impreso.
Presione el interruptor de arranque después de ajustar el intervalo de tiempo deseado. El LED se apagará y sólo volver a encender cuando se haya completado el intervalo de tiempo ajustado.
Simple de usar sirve como temporizador de mesa, de bolsillo o para la encimera. Incluso en la escuela o en reuniones sirve para limitar el tiempo de respuesta o la palabra de un orador, evitando que se extienda más allá de lo necesario. Con pequeños cambios podemos hacer que accione un bocadillo (del tipo vibrador) para obtener un aviso sonoro al final del tiempo deseado.
La alimentación del circuito se realiza con 4 pilas pequeñas y su consumo en la condición de cronometraje es bastante bajo, lo que garantiza una buena durabilidad para la fuente de energía.
COMO FUNCIONA
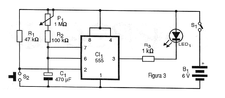
La configuración básica es de un monoestable alrededor del conocido circuito integrado 555, y que se muestra en la figura 1.

Cuando, en la condición de espera, la salida de este circuito integrado se mantiene sin tensión, es decir, en el nivel bajo. Un LED conectado entre el positivo de la alimentación y esta salida, se encender en estas condiciones, pues habrá una diferencia de potencial de 6 V aproximadamente entre el resistor limitador y el LED.
Cuando aterrizamos por un instante la entrada de disparo, que corresponde al pino 2, la salida cambia de estado, pasando a presentar una tensión muy próxima a la tensión de alimentación, o sea, 6 volts. Como entre el ánodo y el cátodo del LED pasa a haber la misma tensión, es decir, una diferencia de potencial nula, se apaga.
El tiempo en que la salida del circuito integrado permanece con esta tensión está determinada por los valores de R y de C según la fórmula:
T = 1,1 x R x C
Donde: T se obtiene en segundos cuando R se da en ohms y C en farads.
El valor máximo de R recomendado es de 2,2 M ohmios y de C de 1 000 uF lo que nos lleva a un intervalo máximo de tiempo de 2 420 segundos o aproximadamente 40 minutos.
Usando para R un potenciómetro de 1 M ohms, por ejemplo, podemos ajustar los tiempos en un rango de 2 a 20 minutos aproximadamente. Evidentemente, se debe considerar la tolerancia de los componentes que en algunos casos puede llegar al 20%.
Al final del tiempo transcurrido la salida vuelve al nivel bajo, haciendo que el LED se apague.
En la figura 2 damos el modo de hacer la conexión de un zumbador de hasta 100 mA para corriente continua si el lector desea una unidad con aviso sonoro.

En este caso, el funcionamiento es inverso, es decir, el bocadillo o zumbador se activa al final del intervalo.
MONTAJE
En la figura 3 tenemos el diagrama completo de nuestro Temporizador
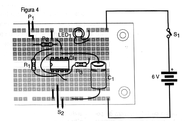
En la figura 4 tenemos el montaje en una placa de circuito impreso del tipo universal con el patrón de una matriz de contactos, donde el lector puede hacer una experiencia previa de funcionamiento.

Los resistores son de 1/8 W o mayores y el potenciómetro de ajuste puede ser lineal o log. Damos preferencia al tipo lineal por posibilitar una calibración de escala más apropiada.
El capacitor C1 debe ser de buena calidad, ya que las fugas indebidas pueden afectar el funcionamiento del aparato. La tensión de trabajo de este capacitor puede quedar en el rango de 6 a 25 volts.
El LED es rojo común o de otro color y S1 es un interruptor de presión tipo NA (normalmente abierto) o botón de timbre.
Para las pilas se debe utilizar un soporte apropiado y la caja plástica puede ser del tipo mostrado en la figura 5.

PRUEBA Y USO
Coloque las pilas en el soporte y encienda S1. El LED debe encenderse. Ajuste el tiempo en el potenciómetro P1 colocando inicialmente como mínimo. Apriete S2 y suelte. El LED debe encenderse y así permanecer durante un cierto tiempo. Cambiando de posición P1 y repitiendo esta operación los tiempos en que el LED se enciende se van haciendo mayores.
Para hacer una escala en P1 compare los tiempos obtenidos en diversas posiciones de ajuste con el marcado en la temporización con un reloj común.
Si desea intervalos de tiempo mayores que el original utilice para P1 un potenciómetro de 2,2 M ohms y para C1 un capacitor de 1 000 uF.
Para usar, ajuste siempre antes de P1 para luego conectar la alimentación y apretar S2.
LISTA DE MATERIAL
Semiconductores:
CI-1 - 555 - circuito integrado
LED1 - LED rojo común o de cualquier color
Resistores: (1/8 W, 5%)
R1 - 47 k ohms - amarillo, violeta, naranja
R2 - 100 k ohms - marrón, negro, amarillo
R3 - 1 k ohms - marrón, negro, rojo
P1 - 1 M ohms - pote - ver texto
Capacitor:
C1 - 470 uF- electrolítico para 6V o más
Varios:
S1 - Interruptor simple
S2 - Interruptor de presión NA
B1 - 6 V - 4 pilas pequeñas
Placa de circuito impreso universal, caja para montaje, soporte para 4 pilas pequeñas, botón y escala para el potenciómetro, soporte para el LED, hilos, soldadura, etc.




