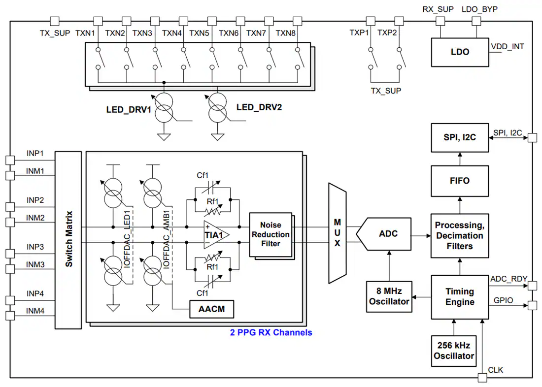
El front-end analógico integrado ultrapequeño AFE4462 de Texas Instruments es un AFE para aplicaciones de biodetección óptica, como la saturación de oxígeno capilar periférico (SpO2) y la monitorización de la frecuencia cardíaca (HRM). El dispositivo admite hasta cuatro fotodiodos (PD) y hasta 16 diodos emisores de luz (LED) de conmutación. El AFE tiene dos controladores LED, cada uno con control de corriente de 8 bits. El Texas Instruments AFE4462 tiene un circuito de transmisión y recepción de alto rango dinámico que ayuda a detectar niveles de señal muy pequeños. Se pueden definir hasta 16 conjuntos de fases de señal, cada conjunto de fases comprende una combinación de fases ambientales y de LED. Los DAC con compensación de bajo ruido en las entradas del receptor se pueden controlar automáticamente para cancelar la CC del LED y la luz ambiental. La corriente de cada uno de los cuatro PD en cada fase se convierte en voltaje mediante TIA, se filtra y luego se digitaliza utilizando un ADC común. El código ADC se puede almacenar en un bloque FIFO de 256 muestras. El FIFO se puede leer utilizando una interfaz SPI o I2C.




