Esta alarma crea una “barrera luminosa” que ai ser interrumpida provoca el disparo de una sirena, bocina u otro dispositivo que haga ruido. El principio de funcionamiento es simple: sobre un LDH incide un haz de luz que viene de una Iámpara escondida, como muestra la figura 1.

Si alguien interrumpe con su paso, aunque sea por una fracción de segundo, el haz de luz, la alarma dispara y permanece así por un tiempo que se establece con un control especial (P2).
La sensibilidad del sensor, en función de la luz ambiente, es controlada por P1.
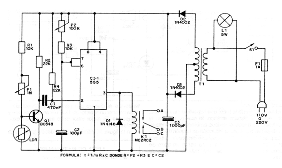
En la figura 2 tenemos el circuito completo de esta alarma.

La lámpara usada para iluminar el LDR puede ser de 5 watts, bien pequeña para que sea fácil su ocultación.
Colocada en una caja, con apenas una pequeña abertura, puede iluminar fácilmente el sensor. Para mayor sensibilidad, éste debe estar colocado en un tubo y munido de una lente.
Este sistema es alimentado por la red local, debiendo ser previsto el caso de que se produzca un corte de energía.
En la figura 3 damos Ia placa del circuito impreso.

CI-1 - 555 - circuito integrado
Q1 - BC548 o equivalente - transitor NPN
D1 - 1N4148 ó 1N914 - diodo de uso general
D2, D3 - 1N4002 o equivalente – diodos rectificadores
K1 - Relé
LDR - LDR común
T1 - transformador con primario de acuerdo con la red local y secundaria de 12 + 12V x 250 mA
P1 - 1M - trimpot o potenciômetro
P2 - 100k - trimpot o potenciômetro
F1 - fusible de 1A
L1 - lámpara de 5W para 110V o 220V de acuerdo a la red local
C1 -470nF (474) - capacitor cerâmico
C2 - 100uF - capacitor electrolitico
C3 - 1.000uF x 25V - capacitor electrolitico
R1 – 10k x 1/8W - resistor ( marrón, negro, naranja)
R2, R4 - 22k x 1/8W - resistores ( rojo, roja, naranja)
R3 - 10k x 1/8W - resistor ( marrón, negro, naranja)
S1 - Interruptor simple
Varios: placa de circuito impresa, caja para el montaje, alambres, soldadura, porta lámpara para L1, cable de alimentación, etc.



