Si bien las transmisiones en AM tienden a desaparecer, así como los receptores, un viejo radito que tiene la banda de ondas cortas todavía sirve para la realización de experimentos y demostraciones interesantes. Con él podemos demostrar cómo las transmisiones de telegrafía funcionan, lo que fue ampliamente utilizado con medio eficiente de comunicaciones a larga distancia durante muchos años, principalmente entre los años 20 y los años 70.
Las transmisiones en esta banda, que todavía se utilizan por radioaficionados y en servicios especiales, pueden alcanzar miles de kilómetros en condiciones especiales de propagación. Describimos ahora un simple transmisor experimental de onda continua (CW) que tendrá sus señales captadas en un radito situado a distancias que dependen de la sensibilidad del receptor y de la antena. El circuito operará en frecuencia entre 2 MHz y 15 MHz.
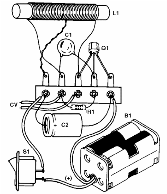
El circuito consiste básicamente en un oscilador Hartley en el que la frecuencia es determinada por la bobina L1 y la variable CV. En la figura 1, tenemos el diagrama del transmisor que opera en CW (ver CW y telegrafía en nuestro almanaque para saber más).

La bobina está formada por 20 a 40 vueltas de alambre esmaltado 28 o más fino, o aún, hilo común 22 de capa plástica, con una toma en la espira central.
Con menos espiras la frecuencia será más alta. Haz pruebas con tu radito para ver la mejor pista en tu localidad. La forma es un bastón de ferrita de 0,8 a 1 cm de diámetro y de 15 a 30 cm de longitud. El condensador variable puede ser aprovechado de cualquier radio de AM con capacitancia entre 120 y 310 pF.
En la figura 2 tenemos el montaje experimental en un puente de terminales aislados.

En la figura 3 la disposición de los componentes en una matriz de contactos.

Para probar el aparato es sencillo: conecte en las proximidades una radio de AM fuera de estación, en la banda de ondas cortas elegida. Ajuste entonces la variable CV del transmisor hasta captar una especie de "soplo", que es la portadora de RF.
Interrumpiendo esta portadora con un manipulador en el circuito, o incluso a través del interruptor se puede codificar la señal, transmitiéndose en código Morse (telegrafía). Este es el principio de muchos transmisores. Usted puede utilizar este montaje experimental en ferias de ciencias para demostraciones.
Usted puede conectar al colector una antena, consistente en un hilo estirado de 3 a 10 metros de longitud. Con eso, el alcance será mucho mayor.
Tecnología inalámbrica
Una palabra bastante de moda en los medios técnicos actualmente es "inalámbrica" (inalámbrica). La tendencia es que todos los equipos que tenemos en nuestras casas se comunican a través de ondas de radio u otros tipos de señales.
Los llamados "enlaces de radio", utilizando tecnologías como la "Bluetooth" tienen por objeto enviar información de un ordenador a otro a través de ondas de radio. Una computadora se conecta a un transmisor que envía sus señales a un receptor distante. El receptor procesa las señales y las envía a otra computadora que puede recibirlos.



