Este circuito se destina al control de cargas de corriente continua en el rango del 0 a 15 V con corrientes de hasta 2 A. Podemos usarlo para controlar el brillo de pequeñas lámparas, el calentamiento de pequeños resistores o aún la velocidad de pequeños motores. El circuito es simple y puede ser intercalado entre la salida de cualquier fuente de corriente continua o batería y el aparato que está siendo alimentado.
Un reóstato es un resistor variable que controla la corriente de una carga externa, formando con ella un divisor de tensión. El gran problema de los reóstatos del tipo convencional es que disipan, en forma de calor, la potencia que no va para el circuito de carga.
Esto significa que los reóstatos comunes tienden a calentarse bastante, debiendo por lo tanto tener una construcción bien robusta.
Los potenciómetros de hilo de gran tamaño se utilizan para la elaboración de controles simples de este tipo.
Lo que proponemos es una versión electrónica que utiliza un potenciómetro común de baja disipación, pero que deja el control de la corriente principal a un transistor.
De esta forma, la potencia disipada se reduce, con mayor economía y mejor desempeño del circuito.
En el caso, el transistor usado es un 2N3055 que, en un radiador de calor convencional, puede controlar cargas de hasta 2A sin problemas (no recomendamos más, aunque el manual especifique este transistor a 15 A, porque existe una diferencia entre la potencia que el trans- el componente puede efectivamente disipar en un circuito y la máxima para la que se especifica).
La caída de tensión en el transistor es mínima, de modo que el circuito puede funcionar con tensiones a partir de 3 V, yendo hasta 15 V o más.
MONTAJE
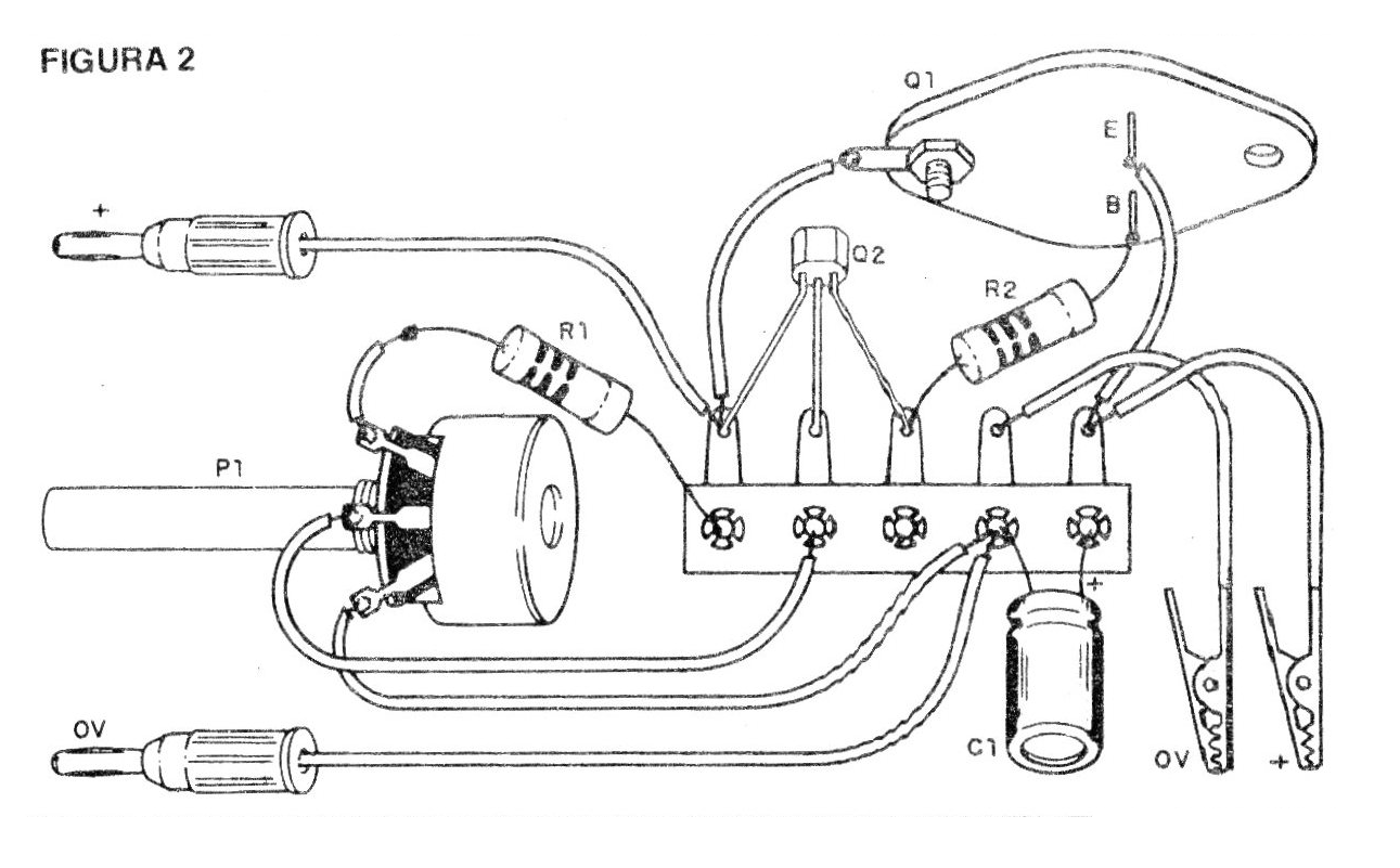
En la figura 1 damos el diagrama completo del reóstato y en la figura 2 damos la disposición de los componentes en un puente de terminales, cuál puede ser instalada en una caja plástica para mayor facilidad de uso.
El transistor Q1 debe estar dotado de un buen radiador de calor, incluso siendo recomendable su fijación en la parte posterior de la caja, por el lado de afuera, facilitando así la circulación de aire.
El potenciómetro es común de 10 a 47 k, no siendo crítico, y los resistores son de 1 W.
El capacitor C1 debe ser de 100 uF con menos de 25 V de tensión de trabajo, previendo la máxima tensión de salida que el circuito puede proporcionar.
Para la entrada se pueden utilizar enchufes, que se encajan en los bornes de su fuente, y para la salida se pueden utilizar hilos con garras. Es interesante diferenciar la polaridad de los hilos pea su color (rojo = positivo y negro = negativo).
PRUEBA Y USO
Conecte la entrada del circuito en los bornes de salida de una fuente de hasta 15 V, observando su polaridad.
Conecte a la salida del reóstato una resistencia de 220 ohms x 2 W o una lámpara de hasta 15 V en paralelo con un multímetro.
Vaya abriendo el control del reóstato (P1) y verificando la variación de la tensión en la salida, que debe ocurrir de manera continua. No supere el valor máximo permitido por la lámpara.
Si utiliza un motor en la salida, observe su aumento de velocidad y no sobrepase la tensión máxima especificada por el fabricante.
No utilice cargas que exijan más de 2 A, ya que el transistor Q1 puede calentarse demasiado.
Si no hay la salida de tensión máxima, reduzca el valor del resistor R2 a 39 ohmios.
LISTA DE MATERIAL
Q1 - 2N3055 - transistores de potencia
Q2 - BC548 o equivalente - transistores PNP de uso general
P1- 10 k - potenciómetro
R1 - 2k2 x 1 W - resistor
R2 - 100 ohms x 1 W - resistor
C1 - 100 uF x 25 V - capacitor electrolítico
Varios: enchufes de entrada, garras para salida, puente de terminales, caja para montaje, radiador de calor para el transistor, hilos, soldadura, etc.





