Los reed-switches son interruptores de lámina que pueden ser accionados por el campo magnético de una bobina o imán, como sugiere la figura 1. Podemos mantener un reed-switch cerrado por la proximidad de un imán. Si el imán es alejado del reed-switch él abre sus contactos.
Sujetando en lugar fijo (puerta de puerta o ventana) el reed-switch y en la parte móvil un pequeño imán tendremos una eficiente alarma para la protección de entradas. El movimiento de la puerta o ventana, aleja el reed-switch del imán y la alarma se activa.
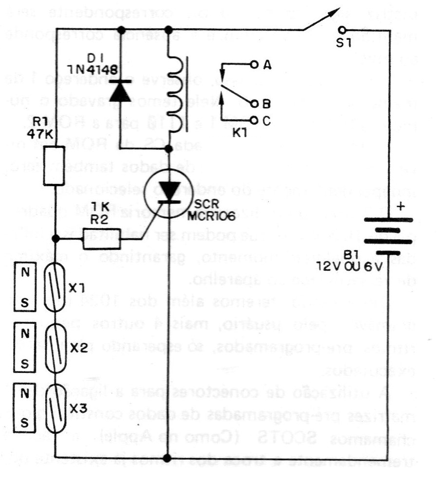
Tenemos entonces el circuito propuesto que se muestra en la figura 2.
Los reed-switches permanecen todos cerrados en la condición de espera, desviando una pequeña corriente a la tierra, evitando que el SCR sea disparado.
Si cualquiera de los reed-switches es abierto (por la acción del intruso) la corriente puede llegar al SCR (comporta) y disparar.
Con el disparo el relé K1 cierra sus contactos activando la alarma y así permanece hasta que S1 se apague y vuelva a conectar. En el caso de que se produzca un error en el sistema operativo,
La corriente de reposo es dada por el valor de R1 queda alrededor de 0,2 mA para una alimentación 12V y 0,1mA a 6V lo que significa una durabilidad ilimitada para las pilas si se utilizan en la alimentación.
El consumo mayor sólo ocurre en el momento del accionamiento del relé.
Los terminales A, B y C se conectan al circuito externo de advertencia, según explicaciones comunes que el lector puede encontrar en el sitio.
Ver el lector que damos la colocación de sólo 3 reed-switches en serie en el diagrama, pero nada impide que en el proyecto final tengamos más unidades.
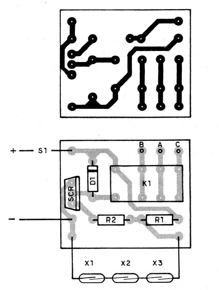
En la figura 3 damos la placa de circuito impreso.
LISTA DE MATERIAL
SCR - MCR106, C106 o TIC106 - SCR común
D1 - 1N4l48 o equivalente - diodo de uso general
K1 - Relé sensible de 6 o 12 V
R1 - 47k x 1/8 W - resistor (amarillo, violeta, naranja)
R2 - 1 k x 1I / 8 W - resistor (marrón, negro, rojo)
S1 - interruptor simple
B1 - 6 o 12 V - pilas o fuente de alimentación
Varios: reed-switches e imán, soporte para pilas, placa de circuito impreso, hilos, soldadura, etc.






