Zumbado
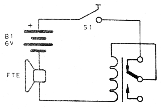
Este circuito utiliza sólo componentes pasivos, pero produce un sonido agradable en un altavoz. Se puede utilizar en sistemas de alerta, alarmas, llamadas, etc.
El relé funciona en este circuito como un vibrador, aunque esta no es una finalidad prevista para este tipo de componente.
La frecuencia del sonido está determinada por las características eléctricas y mecánicas del relé. Podemos modificar su comportamiento con la conexión de un capacitor de 10 a 100 nF entre los terminales 1 y 2 del diagrama.
La alimentación del circuito se realiza con 6 o 12 V según el relé utilizado. El altavoz es de cualquier tipo de 4 o 8 ohms y su finalidad y amplificar las variaciones de corriente en el relé, produciendo sonido.
Al sustituir el interruptor de presión por un manipulador podemos montar un telégrafo experimental o aún entrenar la telegrafía.
En la figura 1 tenemos el diagrama del aparato y en la figura 2 su montaje.


Lista de material
K1- Relé de 6 o 12V
S1- Interruptor de presión NA
FTE-4 o 8 ohms - altavoz pequeño
B1- 6 o 12 V-pilas, batería o fuente
Varios: hilos, soldadura, soporte de pilas o fuente.



