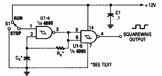
Este circuito de una Popular Electronics de los años 90 puede generar señales de 0.03 Hz a 3 kHz dependiendo del valor del capacitor y el resistor.

Astable 4093

Astable 4093
Este circuito de una Popular Electronics de los años 90 puede generar señales de 0.03 Hz a 3 kHz dependiendo del valor del capacitor y el resistor.

