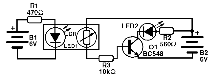
Un acoplador óptico experimental puede ser hecho con propósito demostrativo y didáctico, como explicamos en esta experiencia. El emisor será un LED común y el receptor un LDR. Estos dispositivos son de bajo costo y de fácil obtención, lo que facilita la realización de la experiencia.
Para ella necesitaremos el siguiente material.
LISTA DE MATERIAL
2 LED rojo (LED1, LED2)
B1 y B2 - 6 V - 4 pilas comunes pequeñas
Q1 - BC548 o equivalente - transistores NPN de uso general
LDR - LDR redondo común
R1 - 470 ohms x 1/8 W - resistencia (amarillo, violeta, marrón)
R2 - 560 ohms x 1/8 W - resistor (verde, azul, marrón)
R3 - 10 k ohms x 1/8 W - resistor (marrón, negro, naranja)
Varios: soporte de pilas, hilos, tubo opaco, etc.
En la figura 1 tenemos el diagrama completo del acoplador.
En la figura 2 tenemos el montaje experimento en un puente de terminales.
El LED se monta dentro de un pequeño tubo de cartón apuntando a la superficie sensible del LDR que se coloca en el otro extremo del mismo tubo. No debe entrar luz en el tubo, por lo que necesitamos tapar con cinta aislante u otro recurso los dos extremos del tubo. El procedimiento para realizar la experiencia es simple:
Cuando coloque las pilas en el soporte 1 (B1), veremos que el LED2 se enciende. Esto significa que el LED1 en el interior del tubo encendió y excitó el LDR, haciendo que el transistor condujera alimentando así el LED2.
Desconectando la corriente de la batería B1, el LED2 se apaga. Podemos entonces controlar el circuito del LED2 a partir de la batería B1 aunque no haya conexión eléctrica entre los dos circuitos. El proceso se logra gracias a la acción del acoplador óptico.
Haciendo una grieta en el tubo opaco como el lector podrá ver 3 podemos transformar nuestro acoplador óptico en una llave óptica.

Colocando una tarjeta en la ranura, interrumpimos la luz y hacemos que el LED2 se apague.





