Este transmisor experimental, que puede tener un alcance que varía entre algunas decenas de centímetros hasta algunos metros, operando en la banda de ondas medias tiene por característica la capacidad de funcionar con energía obtenida de una célula de agua y sal construida con material improvisado.
Por supuesto, también funcionará con mayor alcance utilizando pilas comunes (1 o 2) como fuente de energía, pero en una demostración en que se trabaja con fuentes alternativas de energía, la pila de agua y sal o equivalentes que daremos el modo de construcción, es la mejor opción. En realidad, el pequeño alcance de este transmisor se debe justamente a la pequeña cantidad de energía que puede obtenerse de una célula experimental como por ejemplo la que usa agua y sal.
COMO FUNCIONA
El circuito consiste en un oscilador que opera en el rango de ondas medias entre 530 y 1600 kHz y que puede tener la señal captada por cualquier radio común colocado cerca. Para que el circuito pueda funcionar con una tensión muy baja el secreto está en la elección de un transistor de germanio que se puede obtener en radios transistorizados antiguos fuera de uso.
Estos transistores de germanio, a diferencia de los transistores de silicio que necesitan 0,7 volts para entrar en operación, tienen una tensión mínima de operación de 0,2 volts. Así, los 0,7 a 1,0 volts obtenidos de una célula experimental pueden hacer que el circuito funcione razonablemente bien.
Es claro que con esta pequeña tensión la señal no puede ir muy lejos, lo que exige que el receptor sea colocado muy cerca del oscilador para obtener resultados en su captura. Sin embargo, como la experiencia pretende demostrar que se está generando una señal, lo importante es sólo su presencia y no el alcance.
Otro punto importante es que el circuito no es modulado, lo que significa que sólo va a emitir un "chido" que controlado por el controlador permite la codificación para la emisión de mensajes telegráficos.
MONTAJE
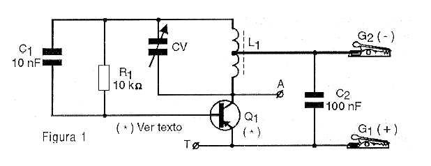
En la figura 1 tenemos el diagrama completo del transmisor experimental.

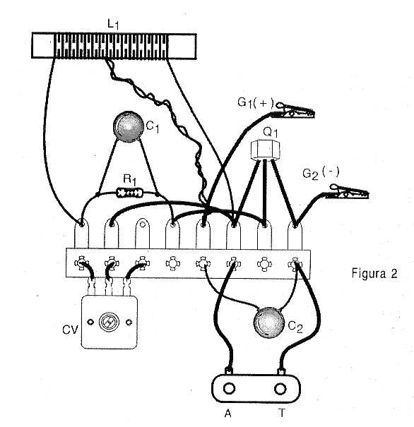
La disposición de los componentes en un puente de terminales se muestra en la figura 2.

La bobina L1 está formada por 40 + 40 vueltas de alambre esmaltado 24 o más fino en un bastón de ferrita de hasta 20 cm de longitud y de cualquier diámetro. Los puntos A y T sirven para la conexión de una antena y la tierra con lo que se obtiene un pequeño aumento del alcance. La antena puede ser un pedazo de hilo común de 2 a 5 metros de largo estirado.
Los resistores son de 1/8 W o mayores y los capacitores pueden ser cerámicos o de otro tipo. Lo importante en este proyecto es que el transistor debe ser del tipo PNP de germanio. Tipos como el 2SB75, 2SB54, OA74 y otros que se pueden obtener de radios antiguos fuera de uso pueden ser experimentados. Se debe tener cuidado para identificar los terminales. Normalmente en estos tipos la marca corresponde al colector, el terminal del medio es la base y lo que sobra es el emisor.
No es conveniente utilizar transistores de silicio porque necesitan una tensión mayor para oscilar y no puede ser alcanzada por la pila de ensayo. El capacitor variable también puede ser retirado de cualquier radio vieja de ondas medias. En él se hace la sintonía del transmisor.
La pila se hace con dos planchas de metal, una de cinc y la otra de cobre, de aproximadamente 2 x 5 cm que se sumergen en un vaso con agua y sal (disuelva una cucharada de sal en un vaso de agua). La chapa de cobre será el polo positivo y la plancha de cinc el negativo. Las planchas deben estar cerca pero no deben apoyarse una en la otra. Esta pila puede proporcionar tensiones de hasta 1 V.
El manipulador puede ser improvisado con una plancha de metal que establezca contacto con un tornillo o aún se puede utilizar un interruptor de presión común.
QUÉ EXPLICAR
Busque en los libros de física y química explicaciones sobre el principio de funcionamiento de las pilas. A continuación, muestra que las planchas de metal en el vaso con agua y sal forman una pila eléctrica y que el cinc se consume a medida que se suministra la energía. Explique qué otras combinaciones de metal proveen tensiones diferentes y pueden ser experimentadas y que el líquido (electrólito) puede ser cualquier solución conductora.
Explique también que la energía generada por esta pila se convierte en ondas electromagnéticas que son irradiadas por el pequeño transmisor experimental. Demuestre que las ondas emitidas pueden atravesar objetos sólidos como madera, vidrio, plástico, etc.
USO
Si se monta la pila y se conecta al transmisor, coloque cerca de una radio de onda media sintonizada en una frecuencia libre. Luego ajuste el CV hasta que capte la señal del aparato que consiste en una especie de "soplo" cuando el manipulador es apretado. Mantenga el manipulador apretado para ajustarlo.
Si toma más de una señal, elija el más fuerte y compruebe el alcance. Busque el código Morse en este sitio para usarlo en el envío de mensajes.
SUGERENCIAS DE TRABAJOS
Pruebe otros tipos de metales y electrolitos. La combinación cinc, cubre con una solución de ácido sulfúrico (manipule cuidadosamente esta sustancia!) Es la que proporciona mejores resultados en la pila. Utilice un multímetro común para medir la tensión que su pila experimental está suministrando.
LISTA DE MATERIAL
Q1 - Cualquier transistor PNP de germanio de uso general - ver el texto
L1 - Bobina - ver el texto
CV - Capacitor variable de radio de onda media - ver texto
R1 - 10 k ohms - resistor - marrón, negro, naranja
C1 - 10 nF - capacitor cerámico o de poliéster - valor no crítico
C2 - 100 nF - capacitor cerámico o de poliéster - valor no crítico
G1, G2 - Garras caimán - negra y roja
Varios:
Puente de terminales, bastón de ferrita, pila experimental, hilos, soldadura, etc.



