Hay casos en que se desea controlar una carga de alta potencia utilizando un interruptor o sensor de baja capacidad de corriente y aún en un circuito de baja tensión. La solución ideal es la que hace uso de un TRIAC en un circuito como el sugerido aquí.
El circuito presentado permite utilizar un interruptor de baja corriente y de baja tensión como un microswitch, reed-switch u otro en el control de una carga de alta potencia, a través de un TRIAC. Con el TRIAC utilizado cargas de varios ampères (6) pueden ser controladas con facilidad, a partir de corrientes del orden de 20 a 50 mA, conforme el valor de R2.
La idea básica es utilizar un transformador para bajar la tensión de la red y utilizar la baja tensión para alimentar el circuito de disparo a través del interruptor o sensor. El circuito se muestra en la figura 1, utilizando pocos componentes comunes y de bajo costo.
C1 y R1 forman un circuito "snubber" evitando la generación de armónicos y transientes en la línea, principalmente si la carga conmutada es inductiva. El transformador tiene primario de acuerdo con la red local y secundaria de 6 a 9 V con corriente entre 150 y 300 mA.
S1 es un interruptor o sensor para una corriente de al menos 100 mA. Evidentemente, en función de la carga controlada, el TRIAC debe montarse en un radiador de calor. TRIACS sufijo B son indicados para la red de 117/127 V y sufijo D a la red de 220/240 V. Otros TRIACS, para mayores intensidades de corriente pueden ser usados, recordando que R2 determina la intensidad de la corriente de disparo.
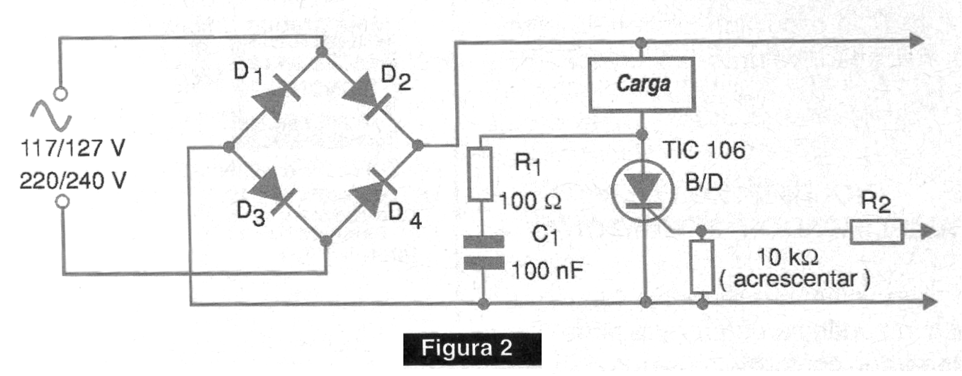
Observamos que la misma configuración puede ser usada con SCRs para el circuito tendrá un control de apenas media onda. Una posibilidad para el uso de SCR consiste en añadir un puente como muestra la figura 2.
Los diodos de este puente se escalan para soportar la corriente de carga y tienen una tensión inversa de pico (PIV) de al menos 200 V en el caso de la red de 117/127 V y al menos 400 V en el caso de la red de 220/240 V.
LISTA DE MATERIAL
Triac - TIC226 B o D - ver texto
D1 - 1N4002 - diodo de silicio
R1 - 100 ohms x 1/8 W - resistor
R2 - 68 a 100 ohms x ½ W - resistor
C1 - 100 nF - capacitor de poliéster x 400 V
C2 - 100 uF x 12 V - capacitor electrolítico
T1 - Transformador con primario según la red local y secundaria de 6 a 9 V - 150 mA o más
S1 - Sensor o interruptor (reed, micro, etc)
Varios:
Placa de circuito impreso, hilos, soldadura, radiador de calor para el TRIAC, caja para montaje, etc.





