Este circuito se puede utilizar en un enlace óptico de datos de hasta 40 kHz. El circuito utiliza como sensor una foto-diodo, pero también se pueden utilizar fototransistores.
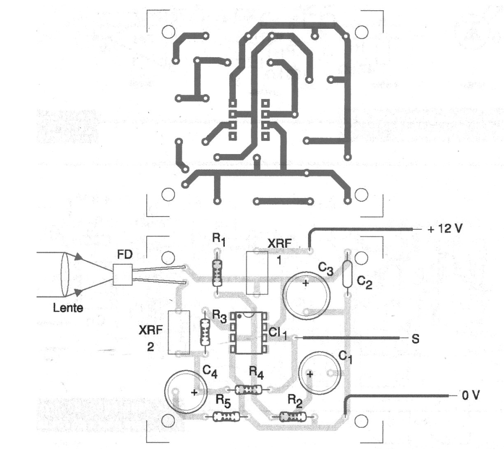
El sensor debe instalarse en un tubo opaco con lente convergente para obtener mayor sensibilidad y directividad y con ello mayor alcance también.
Tenga en cuenta que este circuito no necesita una fuente simétrica de alimentación y se pueden utilizar amplificadores operacionales equivalentes.
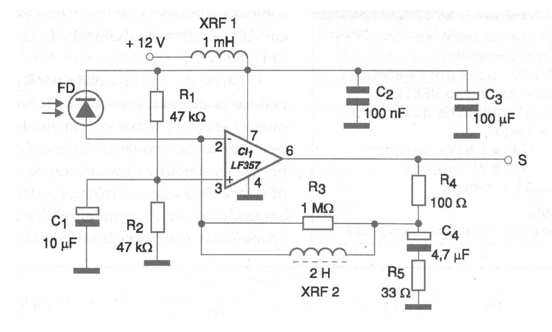
En la figura 1 tenemos el diagrama completo del receptor.
En la figura 2 tenemos una sugerencia de placa de circuito impreso.
Como los datos se transmiten en frecuencias algo elevadas, el cuidado de los cables de señales debe tomarse.
Lista de materiales
CI1 – LF357 – Amplificador operacional
FD – Foto-diodo común
R1, R2 – 47k x 1/8 W – resistor
R3 – 1 M x 1/8 W – resistor
R4 – 100 ohms x 1/8 W – resistor
R5 – 33 ohms x 1/8 W – resistor
C1 – 100 nF – capacitor
C2 – 100 uF x 12 V – capacitor
C4 – 4,7 uF x 16 V – capacitor
XRF1, XRF2 – Choques de RF
Vários:
Placa de circuito impresso, hilos, soldadura, etc.





