Las fuentes alternativas de energía, como las que utilizan pequeños dinos en bicicleta movidos por una hélice (eólica) o caída de agua (hidráulica) o incluso por un sistema de esteras o pedales no suministran una tensión fija de salida, necesitando un circuito regulador . Vea en este artículo cómo montar un simple regulador para corrientes hasta 1 A.
Generadores eólicos o que aprovechan una pequeña caída de agua con el uso de un dínamo en bicicleta pueden ser muy útiles y generar suficiente energía para alimentar pequeños aparatos electrónicos y LEDs además de cargar las baterías. Sin embargo, la tensión que estos dínamos proporciona varía mucho, dependiendo de la velocidad con que giran lo que puede causar problemas al equipo alimentado.
Lo que describimos en este artículo es un circuito regulador que mantiene la salida fija en 6 V en una amplia gama de valores de la rotación del dínamo. Por supuesto, la tensión se mantendrá en 6 V sólo cuando la tensión generada esté por encima de este valor, normalmente en un rango de 8 a 15 V que es lo que encontramos en las aplicaciones normales.
Montaje
En la figura 1 tenemos el diagrama completo del regulador de tensión.
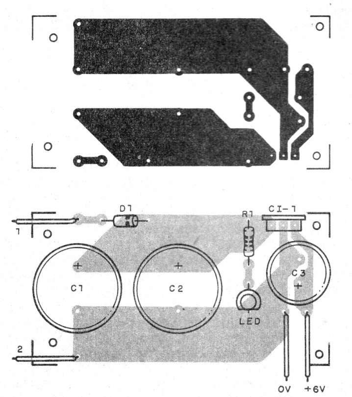
El montaje en una placa de circuito impreso se muestra en la figura 2.
El circuito integrado regulador de tensión deberá estar dotado de un radiador de calor. Se pueden utilizar reguladores para 5 V (7805) o 12 V (7812), aunque en el caso de 12 V sería necesario tener un dínamo que alcance esta tensión.
El LED indicador es rojo y tendrá un brillo variable, indicando que el dinamo está generando tensión. La polaridad del diodo y de los electrolíticos debe ser observada. Los electrolíticos son para 25 V o más de tensión de trabajo.
Para probar, basta con accionar el dínamo y medir la tensión en su salida usando un multímetro o ligando una pequeña lámpara de 6 V. El circuito también funcionará con paneles solares hasta 1 A.
Lista de material
CI-1 - 7801 - circuito integrado - regulador de tensión
D1 - 1N4002 o 1N4004 - diodo rectificador
LED - LED rojo común
C1 - 2 200 uF - capacitor electrolítico (*)
C2 - 2 200 uF - capacitor electrolítico (*)
(*) puede ser un único de 4 700 uF
C3 - 100 uF - capacitor electrolítico
R1 - 10 k ohmios - resistor - marrón, negro, naranja
Varios:
Dínamo de bicicleta, placa de circuito impreso, hilos, soldadura, etc.





