El circuito que presenta tanto sirve para demostrar cómo la resistencia en el sentido inverso de un diodo depende de la temperatura así como para enseñar el montaje del 555 astable en una matriz de contacto. Se trata por lo tanto de montaje con finalidad didáctica que recomendamos a los cursos técnicos.
La resistencia presentada por un diodo común cuando polarizado en sentido inverso depende de la cantidad de portadores de carga que se liberan en la junción. Como la cantidad de portadores depende de la temperatura, la resistencia del componente también depende de esa magnitud lo que permite su uso como un excelente sensor de temperatura.
El montaje que describimos sirve justamente para demostrarlo y en realidad se trata de un convertidor de temperatura x frecuencia que hasta puede ser usado en una simple interfaz de instrumentación.
Lo que hacemos con este circuito es usar un diodo común como sensor de temperatura, polarizándolo en sentido inverso y amplificador a través de un transistor la corriente de fuga resultante. Esta corriente sirve para controlar la frecuencia de un oscilador como el circuito integrado 555 en la configuración tradicional.
Con la elección de los valores apropiados para el capacitor C1 y también R2 y R3 podemos hacer que las señales generadas caigan en la banda de audio, alimentando así un pequeño transductor piezoeléctrico. Veremos entonces que golpeando sobre el diodo sensor o aún acercando (sin encostar) la punta de un soldador, la tonalidad del sonido producido va a variar, con la obtención de un sonido más agudo.
Conectando a la salida del circuito un osciloscopio o un frecuencímetro podremos monitorear de forma mucho más precisa las variaciones de la frecuencia de la señal producida.
Montaje
En la figura 1 tenemos el diagrama completo del convertidor de temperatura x frecuencia o oscilador controlado por tensión que proponemos en ese artículo. El montaje puede ser implementado en una matriz de contactos con facilidad, pues se trata de un montaje experimental (figura 2)
.
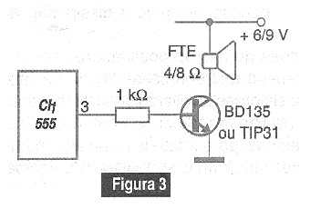
El circuito puede ser alimentado por cuatro pilas pequeñas o una batería, ya que su consumo es bajo, del orden de pocos miliampères. En la figura 3 tenemos una sugerencia para usar un pequeño altavoz en lugar del transductor, pero en ese caso la corriente consumida ya será mayor.

Los valores de capacitores pueden ser experimentados para obtener el tono que resulte más fácil percibir las variaciones. La banda indicada en el diagrama es la recomendada. El transductor debe ser obligatoriamente del tipo piezoeléctrico de alta impedancia. No utilice directamente altavoces u otros tipos de transductores de baja impedancia.
Una posibilidad de cambio del circuito consiste en conectar en la salida un LED en serie con una resistencia de 1 k ohmios. El capacitor C1 se cambiará a valores entre 470 nF y 2,2 uF. En este caso, el aparato convertirá las variaciones de temperatura en los cambios de la frecuencia de los intermitentes del LED.
Lista de material
CI-1 - 555 - circuito integrado
Q1 - BC548 - transistores NPN de uso general
D1 - 1N4148 - diodo de uso general
BZ - Transductor piezoeléctrico
B1 - 6 o 9 V - pilas o pilas
C1 - 10 nF a 470 nF - capacitor de cerámica o poliéster - ver el texto
C2 - 100 uf - capacitor electrolítico
R1, R2 - 10 k ohms x 1/8 W - resistor - marrón, negro, naranja
R3 - 4,7 k ohms x 1/8 W - resistor - amarillo, violeta, rojo
Varios:
Placa de circuito impreso o matriz de contactos, soporte de pilas, hilos, soldadura, etc.





