Este circuito puede ser utilizado como una interfaz de salida para ordenadores personales o que tengan el puerto paralelo (antiguos) y también como escudo para microcontroladores con las debidas adaptaciones. Los componentes usados son comunes.
Este circuito de escudo o interfaz puede ser utilizado con diversas finalidades para controlar el flujo de datos entre un microcontrolador o computadora y un circuito controlado.
La alimentación debe realizarse con tensión de 5 V y las salidas deben tener en cuenta la capacidad de corriente disponible, accionando eventualmente etapas de potencia.
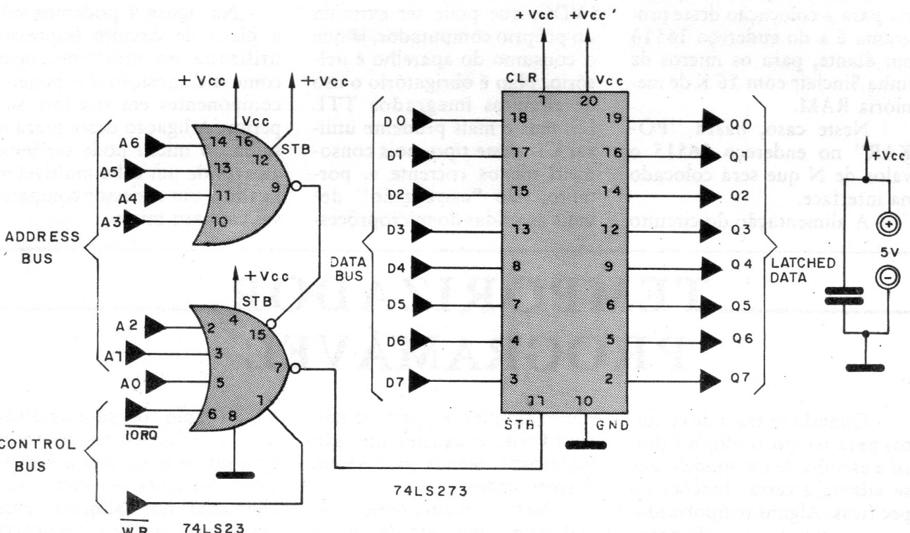
El diagrama completo de la interfaz se da en la figura 1.
La placa de circuito impreso se muestra en la figura 2.
En el montaje se deben observar las posiciones de los circuitos integrados y las pistas deben ser cuidadosamente comprobadas para que no ocurran cortos.





