Normalmente, la compra de un nuevo tocadiscos, de una radio FM o de una simple radio de AM para el coche implica la retirada del aparato viejo que quedará entonces guardado sin posibilidad de uso. En algunos casos podemos decir que el "viejo" aparato es demasiado bueno para ser dejado de lado, lo que lleva a muchos a buscar una manera de usarlo en el taller o en casa.
La fuente que describimos en este artículo proporciona 12 V a partir de la red de 110 o 220 V, con una corriente de intensidad suficiente para alimentar las radios de automóvil que normalmente tienen una potencia del orden de 4 W o 8 W para los FM estereofónicos.
Conectando la salida de la fuente un conector del tipo utilizado en el automóvil, no es necesario realizar ninguna modificación en la radio o en las cintas y, a la hora que necesite, podrá extraerlo del circuito, instalando con facilidad en el coche.
Todos los componentes usados en este circuito son de fácil obtención y bajo costo.
MONTAJE
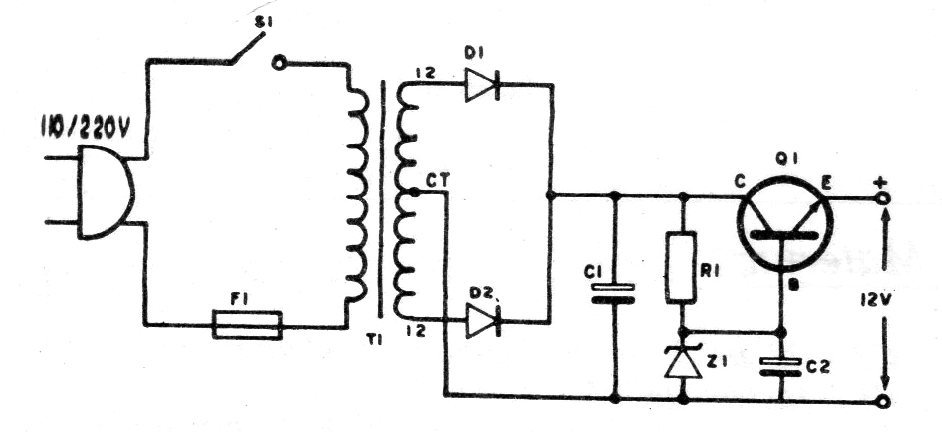
El circuito completo de la fuente se da en la figura 1.
Como se puede ver por el diagrama en cuestión, se trata de una fuente con rectificador de onda completa y un estabilizador de tensión con diodo zener que proporciona la tensión de referencia para un transistor de potencia.
El transformador usado debe tener un primario de acuerdo con la tensión de la red local, es decir, 110 o 220 V, y su secundario debe ser de 12 + 12 V con una corriente de 1,5 o 2 A. Para las radios de pequeña potencia, incluso un devanado de 1 A servirá. En este caso, observamos que la corriente de la fuente será la corriente del transformador.
El transistor de potencia debe montarse en un radiador de calor según sugiere la figura 2.
El capacitor de filtro debe ser tanto mayor cuanto menor sea la ondulación deseada. Para los casos comunes, un capacitor de 1.000 uF sirve perfectamente, pero si el lector observa algún ronco de corriente alterna en su aparato, debe utilizar un capacitor mayor. Puede utilizar entonces uno de 2.200 uF o bien conectar dos capacitores de 1.000 uF en paralelo.
En la figura 3 tenemos la disposición de los componentes para un montaje en puente de terminales.
Observe cuidadosamente la polaridad de los diodos rectificadores, del capacitor electrolítico y la disposición de los terminales del transistor
Si instala la fuente en una caja metálica, asegúrese de que todas las. las conexiones están bien aisladas de ella, principalmente el transistor.
CONEXIÓN EN EL RADIO
Normalmente las radios de automóvil tienen sólo un cable de conexión para el polo positivo de la batería, ya que la conexión del negativo se realiza en su propio chasis que se mantiene en contacto con el chasis del coche.
Así, debemos conectar el polo positivo de la fuente a la entrada positiva del receptor de radio o toca-cintas y el polo negativo debe ser conectado por medio de un hilo al chasis del mismo, como sugiere la figura 4.
Para el caso de los receptores de FM se puede utilizar una antena del tipo utilizado para TV, siendo conectada de la siguiente manera: uno de los cables del cable de antena que es doble va al chasis de la radio y el otro va a la entrada de antena, según sugiere la figura 5.
Una antena externa para las localidades más alejadas permite mejores condiciones de recepción.
Lista de material
Q1 - transistores 2N3055
Z1 - diodo zener para 12 V x 400 mW
R1 - resistor de 270 ohms x 1/2 W
D1, D2 - diodos IN4002 o BY127
C2 - 1000, uF x 16 V - capacitor electrolítico
C2 - 22, uF x 16 V - capacitor electrolítico
F1 - fusible de 1A
T1 - transformador de] 10/220 V de primario a 12 V x 2 A de secundaria.
S1 - Interruptor simple








