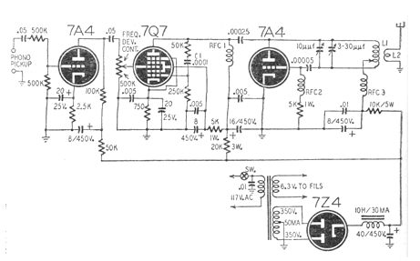
Este transmisor valvular de FM fue obtenido en una Radio Craft de 1947. L1 consta de 4 espiras de hilo 18 en una forma de 2 cm sin núcleo y L2 está formada por 2 espiras del mismo hilo al lado de L1. La antena debe ser del tipo telescópico. El circuito es crítico por la alta frecuencia, exigiendo experiencia en el montaje. Aunque las válvulas tienen filamentos de 7 V se utilizó un transformador de 6,3 V para su alimentación.




