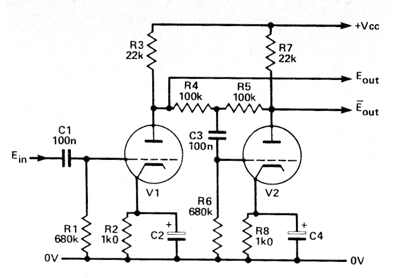
Este circuito se destina a la inversión de fase de una señal de audio para obtener la excitación de etapas de potencia en push-pull sin la necesidad de un transformador. El circuito utiliza válvulas como la 12AU7, 12AX7, etc. que son dobles triodos. El circuito es del tipo para fase flotante; Hemos obtenido este circuito de una antigua publicación de 1989. La tensión de alimentación varía entre 250 y 350 V típicamente.




