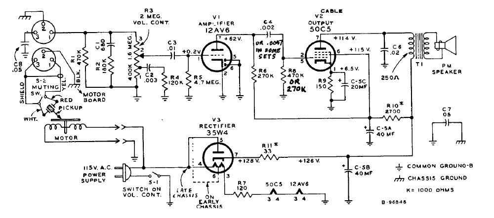
Este circuito, encontrado en un manual de 1950, m utilizaba 3 válvulas en una configuración de pocos vatios de salida. El circuito tenía los filamentos en serie y ya alimentaba el motor del tocadiscos.
A falta de un foto-transistor o de una foto-diodo en una aplicación de emergencia o incluso para...
Un altavoz viejo, una o dos baterías (incluso bajas), una lima y es todo lo que el lector necesita para...
Describimos un simple temporizador o temporizador que puede encender o apagar un aparato eléctrico o...