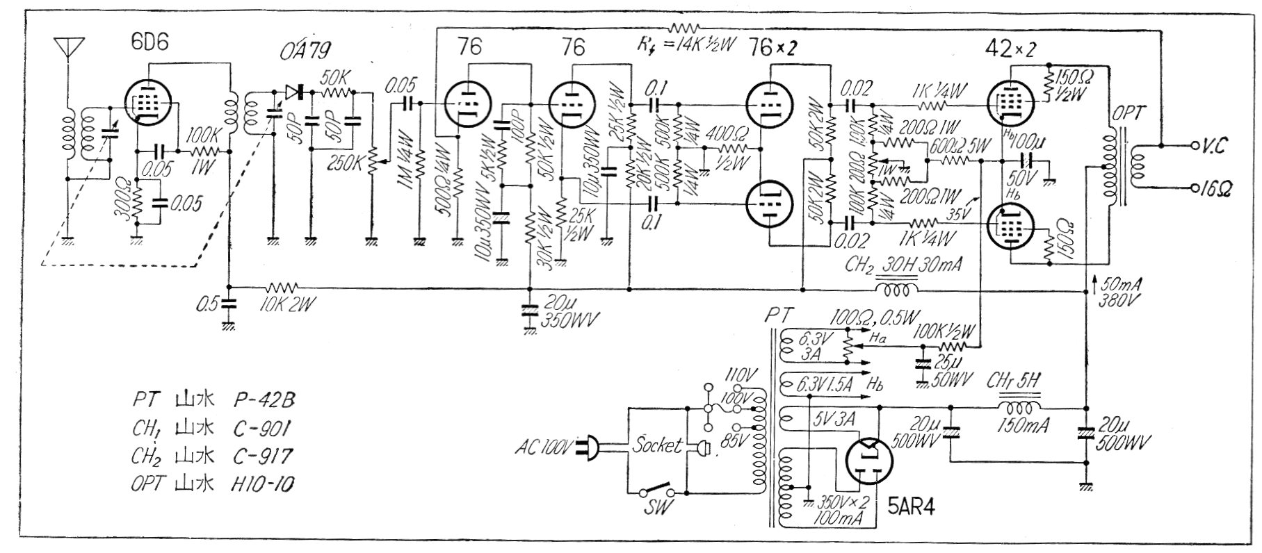
Esta radio AM utiliza válvulas 6F6 en la etapa de salida proporcionando así una calidad y volumen por encima de la obtenida por los receptores convencionales de la época (años 60). El circuito es de una documentación japonesa de la época. El circuito es de tipo comercial.




