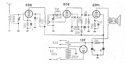
Este receptor de ondas medias con 4 válvulas fue obtenido en una documentación japonesa de los años 60. Las válvulas son de tipos poco comunes y los componentes críticos son también los transformadores. No se dan detalles de bobina de las bobinas.

Este receptor de ondas medias con 4 válvulas fue obtenido en una documentación japonesa de los años 60. Las válvulas son de tipos poco comunes y los componentes críticos son también los transformadores. No se dan detalles de bobina de las bobinas.
