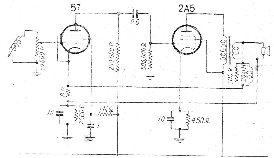
Este amplificador para fonocaptor magnético fue encontrado en una publicación japonesa de la década de 40. El circuito utiliza válvulas de la época, poco comunes actualmente. La potencia es baja, del orden de 1 o 2 watts y el transformador de salida es otro elemento crítico del circuito.




