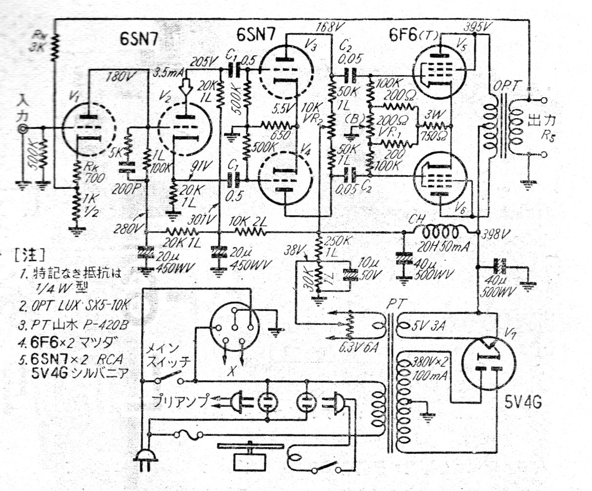
Este buen amplificador de audio fue encontrado en una publicación japonesa de 1955. El circuito tiene salida en push-pull proporcionando algunas decenas de watts. Se incluye la fuente de alimentación.
El circuito que veremos a continuación utiliza un elemento de la familia de los semiconductores que aún no es...
En esta experiencia podemos visualizar la disposición de las líneas de fuerza del campo magnético...
El circuito presentado en la Figura 1 puede ser utilizado tanto como un transmisor telegráfico...