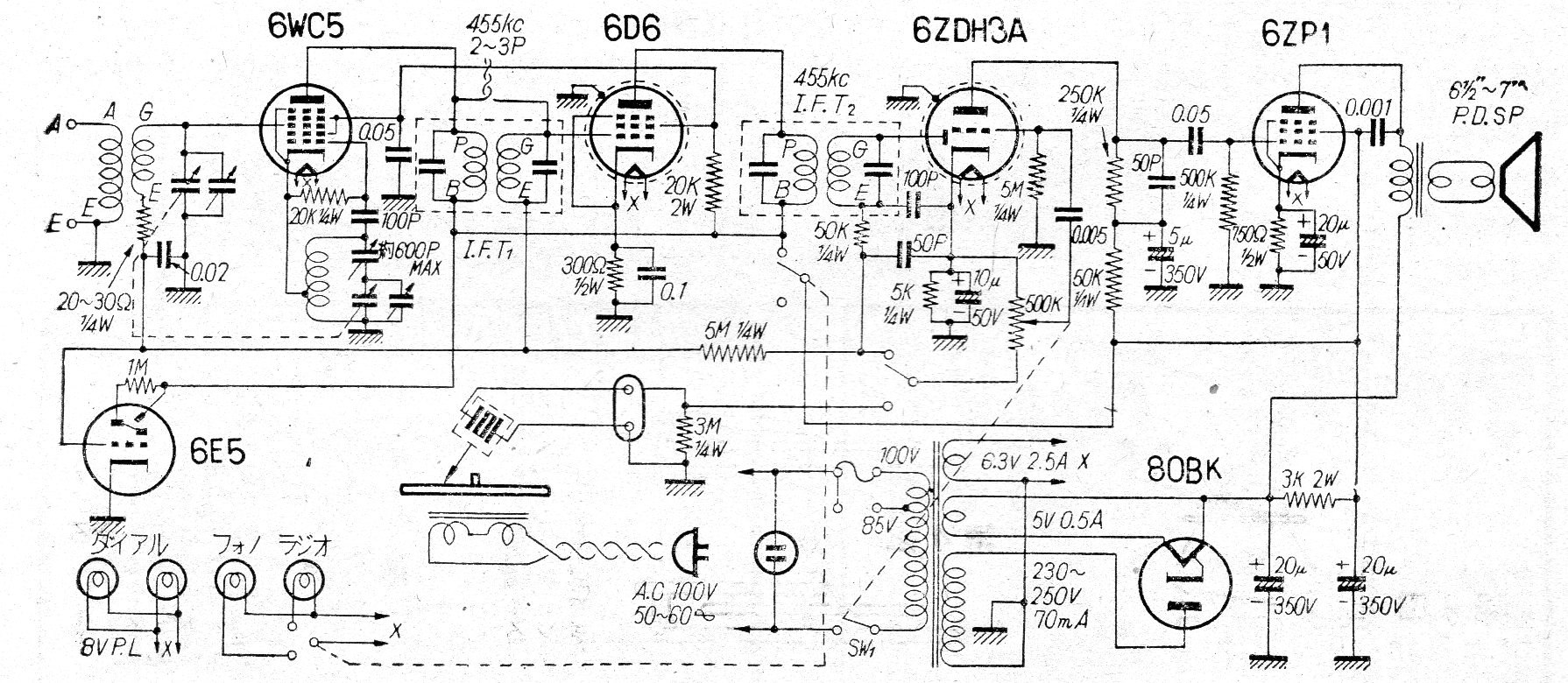
Este es el circuito de una radio con tocadiscos de mesa vendidos en Japón en los años 50. La radio con la banda de AM sólo tenía un tocadiscos con amplificador de algunos watts y buena calidad de sonido. Algunas válvulas usadas son poco comunes.
En la figura 1 tenemos un órgano electrónico de juguete que puede tanto servir para divertir a los niños...
La acción rápida de conmutación del 4093 ayuda a obtener un circuito de interruptor nocturno que no se...
Girando un pequeño motor con la ayuda de un volante, producimos un sonido similar al de una sirena...