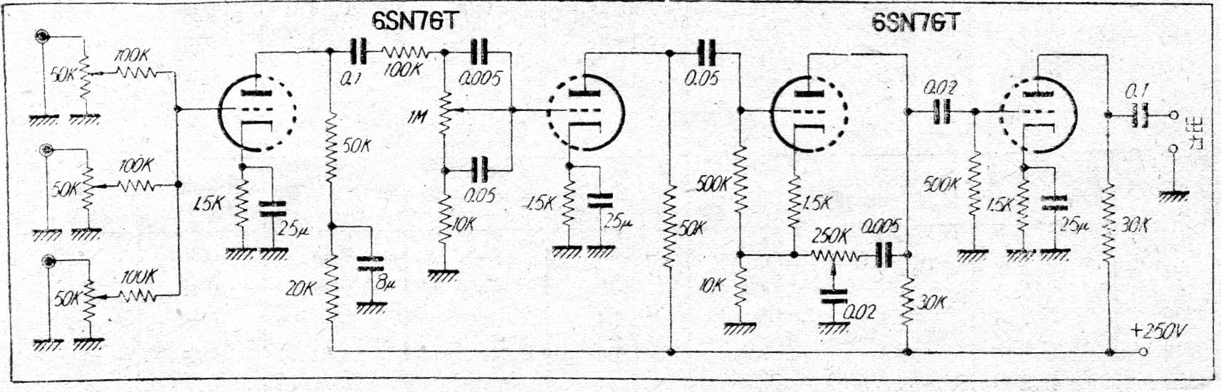
Este es un mezclador simple valvular de los años 50. El circuito no incluye la fuente de alimentación y tiene 3 entradas con controles independientes. Las válvulas son dobles y las entradas son de alta impedancia.
En la figura 1 tenemos un órgano electrónico de juguete que puede tanto servir para divertir a los niños...
La acción rápida de conmutación del 4093 ayuda a obtener un circuito de interruptor nocturno que no se...
Girando un pequeño motor con la ayuda de un volante, producimos un sonido similar al de una sirena...