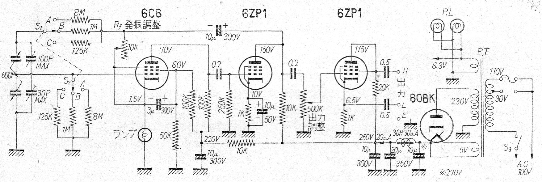
Este generador de audio completo para pruebas de banco se encuentra en una documentación japonesa de los años 50. La precisión de las señales depende de la precisión de los componentes que determinan las frecuencias. Se utilizan varias válvulas para garantizar una señal senoidal de la mejor calidad.




