Este simple transmisor funciona dentro de la banda comercial de FM, presentando una serie de aplicaciones muy útiles, p. ej., en el hogar, colocado en la cuna de un niño podrá saber cuándo llora éste, o en la cama de un enfermo y éste le dirá cuándo necesita algo. Lógicamente, cada uno le podrá buscar la aplicación más idónea.
El alcance es de unos 100 metros, con un consumo muy bajo y una alimentación comprendida entre 3 y 12 voltios, Io cual le hace muy versátil, con una pila de 4,5 voltios, su duración de emisión continua puede llegar a 30 dias.
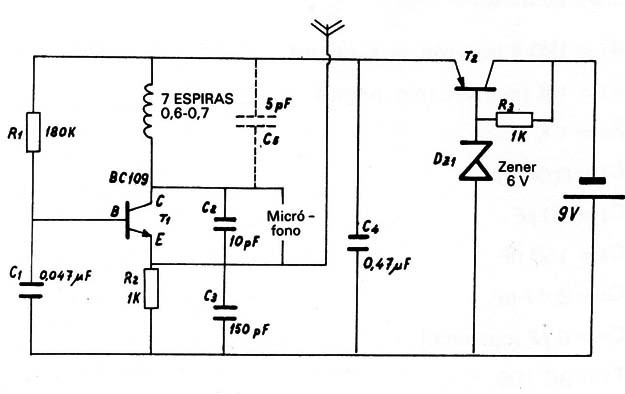
El circuito de este equipo está en la figura 1:

En la figura 2 se muestra la placa de circuito impreso.

El micrófono que se utiliza debe ser de condensador con previo incorporado, el cual resulta más sensible, no obstante, es muy fácil de encontrar en el mercado y a su vez muy barato.
La parte más delicada puede ser la construcción de la bobina, la cual se puede realizar enrollando 7 espiras de hilo de cobre como se indica en el circuito en un lápiz o bolígrafo, el diámetro de la misma así como la separación de las espiras serán determinantes en la frecuencia de transmisión del equipo, no obstante, si se coloca un capacitor variable de 5 pF en paralelo con la bobina como se indica a trazos en el esquema, podrá variar más fácilmente dicha frecuencia.
R1 = 180 k (marrón, gris, negro)
R2 = 1 k (marrón, rojo, negro)
R3 = 1 K
C1 = 0,047 µF
C2 = 10 pF
C3 = 150 pF
C4 = 0,47 pF
C5 = 5 pF (opcional)
T1 = BC109 o BF494
T2 = BC179 o BC557
DZ1 = Zener de 6V7
L = Bobina de 0,6 - 0,7 m/m de diámetro de hilo de cobre



