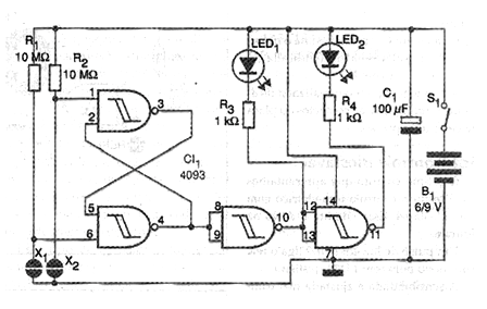
En la figura tenemos un circuito biestable que acciona LEDs de toques de aleación y desconecta datos en los sensores. Evidentemente, el circuito puede ser cambiado fácilmente para controlar cargas de mayor potencia con el uso de etapas transistorizadas accionando relés o directamente las cargas. De la misma forma, podemos utilizar sensores comunes NA para la aplicación del circuito en controles inteligentes, alarmas, y otras aplicaciones similares. En este circuito, dos de las cuatro puertas se utilizan en un flip-flip mientras las demás accionan los LED. Los resistores R1 y R2 determinan la sensibilidad del circuito, pudiendo tener sus valores aumentados. La alimentación se puede hacer con tensiones de 6 a 12 V, sin problemas. El montaje, en carácter experimental, puede ser realizado con facilidad en una matriz de contactos. Los sensores son dos planchas de metal separadas de modo que puedan ser tocadas al mismo tiempo.

 


 

 

 

 

Lista de material

 

CI-1 - 4093 - Circuito Integrado CMOS

LED1, LED2 - LEDs comunes de cualquier color

R1, R2 - 10 M ohms x 1/8 W - resistores - marrón, negro, azul

R3, R4 - 1 k ohms x 1/8 W - resistores - marrón, negro, rojo

C1 - 100 uF x 12 V - capacitor electrolítico

X1, X2 - sensores de tacto - ver texto

S1 - Interruptor simple

B1 - 6 a 12 V - pilas, batería o fuente (con transformador)

Varios:

Matriz de contactos, placa de circuito impreso, soporte de pilas o conector de batería, hilos, etc.