Un aparato sencillo, que puede conectarse a la salida de cualquier aparato de sonido para hacer parpadear, al ritmo de la música, dos LED. Usted puede añadir este sistema a su sonido con mucha facilidad, pues no son necesarios cambios en los circuitos de los aparatos de sonido.
Los micro LEDs rítmicos que proponemos pueden funcionar con prácticamente cualquier tipo de aparato de sonido, como:
- Grabadoras de casete;
- Aparatos tres-en-uno;
- Receptores y amplificadores;
- Amplificadores, radios y tocadiscos en coche;
- Radios portátiles.
La alimentación, hecha con tensiones entre 6 y 12 V, puede ser independiente o aprovechada del propio aparato de sonido con el que funcione.
Un control de sensibilidad permite ajustar los intermitentes de los LED en función de la intensidad de la música.
El aparato prevé completo aislamiento, por capacitores, del aparato de sonido, lo que garantiza total seguridad de operación.
COMO FUNCIONA
Para que el sistema no "robe" potencia del amplificador o aparato de sonido, lo que sucedería con la conexión directa de los LED, como muchos hacen, se utilizan dos transistores amplificadores y una fuente de energía separada.
Así, a través de los capacitores C1 y C2, la señal de audio se lleva al potenciómetro P1 que determina la excitación del circuito.
La señal del potenciómetro pasa a dos transistores complementarios (un BC557 y un BC547), donde sufre gran amplificación hasta el punto de poder excitar fácilmente dos LED.
Con este circuito amplificador, la potencia requerida del aparato de sonido es menos de un centésimo de potencia requerida por los LED.
En el circuito damos los valores de los componentes para una alimentación con 6 V. Para alimentar con 12 V, en el caso de la utilización en el coche, basta con cambiar R4 a 560 ohmios.
Los LEDs usados deben ser obligatoriamente iguales, por estar en paralelo. Si se utilizan diferentes LED como, por ejemplo, un verde y un rojo, por tener características eléctricas diferentes, uno conducirá más corriente que el otro. El resultado es que uno de ellos se encender con fuerza y el otro ni siquiera se encender.
Para un aparato estereofónico, bastará montar dos aparatos iguales a éste y conectar uno en cada canal.
MONTAJE
En la figura 1 damos el circuito completo del aparato.
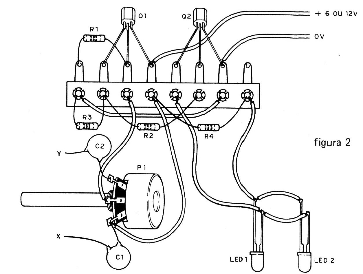
El montaje en un puente de terminales se muestra en la figura 2.
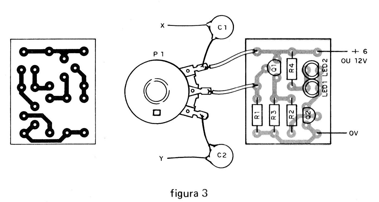
Para los que quieran una versión muy compacta, que incluso puede ser embutida en paneles de coche o en las cajas de los propios aparatos de sonido, damos la versión en placa de circuito impreso en la figura 3.
Los siguientes son los principales cuidados que deben tomarse con el montaje y la obtención de los componentes:
a) Q1 puede ser un BC557, BC558 o BC307, del tipo PNP. Ya 02 es un NPN que puede ser el BC547, BC548, BC237 o BC238. Observe la posición de montaje de estos componentes.
b) Los LED pueden ser rojos, verdes o amarillos, pero siempre que sean igual. No utilice uno de cada color. Si desea modificar el efecto, utilice conjuntos de colores diferentes, cada uno alimentado por un aparato como el que describimos. En la conexión de los LED se debe observar su posición, dada por el terminal más corto o parte plana, que identifican el cátodo.
C) C1 y C2 son capacitores que pueden ser de poliéster o cerámicos con valores entre 82 nF y 220 nF. Estos componentes no son críticos.
d) El potenciómetro P1 puede tener valores entre 47 k y 220 k, siendo el valor medio de 100 k lo que los mejores resultados prácticos proporcionan.
e) Todas las resistencias son de ¼ o 1/8 W con los valores indicados en la relación de material.
Para la alimentación se pueden utilizar cuatro pilas pequeñas (versión de 6 V), que permiten el uso del conjunto con aparatos como radios portátiles, grabadores de cassette, etc.
Para alimentación con 12 V se puede hacer una fuente o aprovechar la alimentación del aparato con el que va a funcionar en conjunto.
En el caso del coche, la alimentación de 12 V puede venir de su propia batería.
PRUEBA Y USO
En la figura 4 tenemos el modo de conectar el circuito a la salida de un aparato de sonido.
Conecte la alimentación de los LED y el equipo de sonido. Coloque una canción para tocar y ajustar gradualmente P1 hasta que los LED parpadeen en el ritmo deseado.
Con el perfecto funcionamiento, es sólo hacer la instalación definitiva en una caja, en el panel del coche o, si lo desea, en el propio aparato de sonido.
LISTA DE MATERIAL
Q1 - BC557 o equivalente - transistores PNP
Q2 - BC547 o equivalente - transistores NPN
LED1, LED2 - LED rojo, común
P1 - 100 k - potenciómetro simple
C1, C2 - 100 nF (104) - capacitores cerámicos o de poliéster
R1 - 560 k x 1/8 W - resistor (verde, azul, amarillo)
R2 - 1k x 1/8 W - resistor (marrón, negro, rojo)
R3 - 8k2 x 1/8 W - resistor (gris, rojo, rojo)
R4 - 330 ohms x 1/8 W - resistor (naranja, naranja, naranja) a 6 V o 560 ohms x 1/8 W - resistor (verde, azul, marrón) a 12 V
Varios: placa de circuito impreso o puente de terminales, hilos, caja para montaje, botón para el potenciómetro, etc.







