Este circuito detecta ductos de metal, hilos de instalaciones embutidas, pequeños objetos enterrados o en paredes, objetos bajo alfombras, alfombras y otros pisos, etc. El circuito mostrado en la figura 1 utiliza como elemento detector adicional una radio AM común.
Una moneda puede ser acusada a distancias de aproximadamente 5 cm. Los objetos más grandes pueden detectarse a distancias mayores. La sensibilidad depende del diámetro de la bobina exploradora.

Utilidades:
• Detectar ductos de metal, hilos de instalaciones en paredes y en el suelo de instalaciones industriales y domésticas.
• Detectar la presencia de objetos de metal ocultos en paredes y en el suelo.
• Detectar la presencia de objetos metálicos en sobres, paquetes e incluso en el bolsillo de personas (detector de armas).
Detalles funcionales y constructivos:
Una situación imprevista que puede ocurrir en una fábrica o residencia es la necesidad de ubicar un conducto por donde pasan hilos o incluso una canalización de agua o líquidos sin disponer de una planta para saber dónde está.
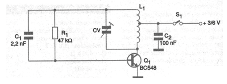
El uso de un pequeño detector de metales que puede ser improvisado en poco tiempo puede evitar la molestia de tener que cavar o romper paredes de forma indebida. El circuito que mostramos, es un oscilador cuya frecuencia depende de la presencia de metales en las proximidades de la bobina.
Sintonizamos la señal del oscilador en una radio de ondas medias (AM) fuera de estación (colocada cerca) y con la bobina varamos el lugar deseado. La presencia de metal hace la señal "huir" de sintonía lo que fácilmente se percibe.
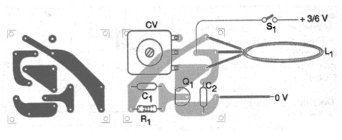
La bobina está formada por 25 + 25 espiras de hilo 28 AWG en una forma de plástico de 30 a 50 cm de diámetro (cuanto mayor, más sensible) El circuito puede ser alimentado por dos o 4 pilas pequeñas y. tiene su placa de circuito impreso sugerida en la figura 2.
El capacitor variable se puede obtener de cualquier radio AM fuera de uso. El cable que va de la bobina hasta el circuito, si es largo debe ser blindado para evitar inestabilidades.

Lista de material:
Semiconductor:
Q1 - BC548 o equivalente - transistores NPN de uso general
Resistor: (1/8 W, 5%)
R1 - 47 k ohms
Capacitores:
C1 - 2,2 nF - cerámico
C2 - 100 nF - cerámica
CV - variable - ver texto
Varios:
L1 - Bobina exploradora - ver texto
S1 - Interruptor simple
Placa de circuito impreso, radio AM, caja para montaje, soporte de pilas, hilos, soldadura, etc.



