Esta es una configuración sencilla para el conocido juego nervio-test en el que se prueba la habilidad y coordinación motora de una persona que debe pasar una argolla por un alambre tortuoso sin dejar reposar. El circuito es alimentado por una batería de 9 V y el indicador es bocina con oscilador de 6 V.
En este circuito, cuando el jugador toca la argolla en un alambre tortuoso, aunque sea por una fracción de segundo, el SCR dispara accionando un bocadillo con oscilador.
Para rearmar el circuito y recomenzar el juego, se debe presionar por un instante S2.
Simple de montar, se trata de un montaje didáctico experimental ideal para enseñanza de electrónica a nivel fundamental o medio.
En la figura 1 tenemos el diagrama completo del nervio-prueba.
El montaje se puede realizar sobre la base de un puente de terminales para una versión definitiva o una matriz de contactos para una versión de prueba.
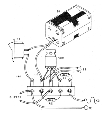
En la figura 2 mostramos el montaje en un puente de terminales.

Lista de material
SCR - TIC106 o equivalente - SCR
BZ-Buzzer con oscilador de 6 V
R1, R2 - 10 k ohms x 1/8 W - resistor - marrón, negro, naranja
S1 - Interruptor simple
S2 - Interruptor de presión
X1, X2 - alambre tortuoso y anilla de hilos desencapados
B1 - 6 V - 4 pilas
Varios:
Soporte de pilas, puente de terminales, hilos, soldadura, etc.




