Esta alarma crea una "barrera luminosa" que al ser interrumpida provoca el disparo de una sirena, bocina u otro dispositivo que haga ruido.
El principio de funcionamiento es simple: sobre un LDR incide un haz de luz que viene de una lámpara escondida en un paso, como muestra la figura 1.
Si alguien interrumpe, aunque por fracción de segundo, el haz de luz con el paso, la alarma dispara y así permanece por un tiempo ajustado en un control especial (P2).
La sensibilidad del sensor, en función de la luz ambiente, es controlada por Pl.
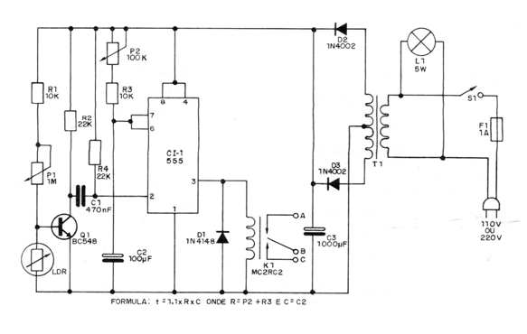
En la figura 2 tenemos el circuito completo de esta alarma.

La lámpara utilizada para iluminar el LDR puede ser de 5 vatios, muy pequeña para que sea fácil su ocultación. Colocada en una caja, con sólo una pequeña abertura puede fácilmente iluminar el sensor. Para mayor sensibilidad se debe colocar en un tubo y provisto de lente.
Este sistema es alimentado por la red local, debiendo ser previsto el caso de un corte de energía.
En la figura 3 damos la placa de circuito impreso.
Lista de material
CI-1 - 555 - circuito integrado
Q1 - BC548 o equivalente - transistores NPN
D1 - 1N4148 o 1N914 - diodo de uso general
D2, D3 - 1N4002 o equivalente a los rectificadores
K1 - Relés de 12 V sensible
LDR - LDR común
T1 - transformador con primario de acuerdo con la red local y secundaria de 12 + 12 V x 250 mA
P1 - 1M - trimpot o pote
P2 - 100 k - trimpot o pote
F1 - fusible de 1 A
L1 - lámpara de 5 W para 110 V o 220 V según la red local
C1 - 470 nF (474) - capacitor de cerámica
C2 - 100 uF - capacitor electrolítico
C3 - 1 000 uF X 25 V-capacitor electrolítico
R1 - 10 k X 1/8 W - resistor (marrón, negro, naranja)
R2, R4 - 22 k x 1/8 W - resistores (rojo, rojo, naranja)
R3 - 10 k x 1/8 W - resistor (marrón, negro, naranja)
S1 - interruptor simple
Varios: placa de circuito impreso, caja para montaje, hilos, soldadura, zócalo para L1, cable de alimentación, etc.





