Con este circuito podemos controlar el brillo de pequeñas lámparas de 12 V, la velocidad de pequeños motores de CA o la temperatura de los elementos de calefacción alimentados por corriente alterna.
El circuito tiene numerosas aplicaciones prácticas y es bastante simple.
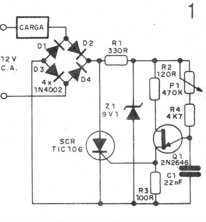
Conforme podemos ver por la figura 1, el ángulo de conducción del SCR es dado por la incidencia de los pulsos, generados por el transistor unijuntura que funciona como oscilador de relajación.
Controlando la frecuencia del oscilador podemos obtener una variación de la potencia aplicada a la carga y con ello el control deseado.
En la figura 2 tenemos la pequeña placa de circuito impreso sugerida para este proyecto.
La resistencia R1, con la ayuda de Z1, mantiene constante la tensión en el oscilador, y la rectificación por el puente de diodos permite un control de onda completa.
Los diodos usados son de 1A, siendo esta la corriente máxima sugerida para el control. Observe que el SCR debe estar dotado de un radiador de calor.
El potenciómetro P1 de 470 k puede ser lineal, como el registro, dependiendo de la variación deseada. Los cambios de C1 se pueden realizar experimentalmente para modificar el rango de actuación del control.
El resistor R1 debe ser de ½ W, mientras que los demás pueden ser de 1/8 o ¼ W. Para tensiones mayores de operación se deben realizar cambios de R1, además de la utilización de un SCR con una tensión máxima compatible.
Recordamos que este control sólo funciona apropiadamente en circuitos de corriente alterna.
LISTA DE MATERIAL
SCR - TIC106 o equivalente a 50 V
D1 a D4 - 1N4002 - diodos rectificadores de silicio
Q1 - 2N2646 - transistor unijuntura
P1 - 470 k - potenciómetro
Z1 - 9V1 - diodo Zener de 400 mW
C1 – 22 nF – capacitor de poliéster o cerámico
R1 - 330 ohms x ½ W - resistor (naranja, naranja, marrón)
R2 - 120 ohms x 1/8 W - resistor (marrón, rojo, marrón)
R3 - 100 ohms x 1/8 W - resistor (marrón, negro, marrón)
R4 - 4k7 x 1/8 W - resistor (amarillo, violeta, rojo)
Varios: placa de circuito impreso, caja para montaje, botón para P1,
hilos, soldadura, radiador de calor para el SCR, etc.





