El circuito sugerido con los dos transistores del montaje anterior (MIN425S) es el de un parpadeante transistorizado que puede accionar una pequeña lámpara.
Este parpadeante se puede utilizar con las más diversas finalidades además de la recreación que su montaje proporciona.
Una de nuestras sugerencias es como flecha para carritos de juguete, o sea, como indicador de dirección, como sugiere la figura 1.
Otra posibilidad de uso práctico para este parpadeante es como indicador para cualquier tipo de alarma, como dispositivo para llamar la atención en vitrinas, pesebres, etc., en cuyo caso su alimentación puede ser hecha con una pequeña fuente (figura 2).
Como la versión anterior la alimentación puede ser hecha con tensiones entre 3 y 12 V dependiendo del tipo de lámpara usada que no debe requerir corrientes mayores que 100 mA.
COMO FUNCIONA
El principio de funcionamiento de este parpadeante es exactamente el mismo del oscilador del montaje MIN425S, con la diferencia que aumentando el valor del capacitor de realimentación hacemos que su frecuencia se vuelva muy baja a punto de tener un pulso en unos segundos.
Este pulso tendrá entonces suficiente intensidad para alimentar una lámpara como circuito de carga la cual será responsable de la producción de "flashes" luminosos.
Como en el montaje anterior, tendremos también un control sobre la frecuencia del circuito manteniendo fijo el capacitor, pero alterando el valor del resistor en la base del primer transistor. Este resistor siendo variable nos permitirá obtener pulsaciones desde una o dos por segundo hasta una de cada 5 ó 10 segundos, dependiendo de las características de los componentes utilizados.
En realidad, la elección del valor del capacitor para este montaje está determinada por la frecuencia que se desea para las pulsaciones. Un capacitor menor, en el rango de los 10 uF a los 47 uF dará pulsaciones en un rango de mayor velocidad mientras que un capacitor mayor de 47 uF a 220 uF permitirá obtener pulsaciones a una velocidad menor.
La alimentación como en el otro circuito influye en cierto modo en los resultados obtenidos, por lo que el lector obtiene experimentalmente el valor del capacitor que mejor se adapta a sus finalidades si ésta es más crítica.
MONTAJE
Como en la versión anterior (MIN722), para mayor facilidad de montaje recomendamos el uso de un pequeño puente de terminales. Y claro que después de montarse el parpadeante se puede instalar en una caja, con o sin la fuente de alimentación.
Las herramientas para esta versión también son las comunes: hierro de pequeña potencia, soldadura, alicate de corte, alicate de punta y destornilladores.
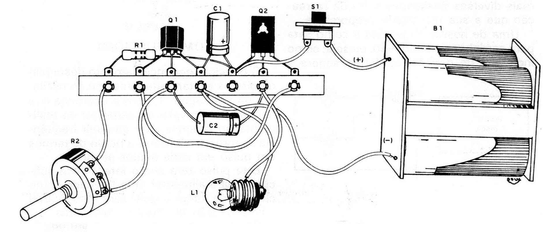
El circuito completo del parpadeante se muestra en la figura 3.
El montaje en puente de terminales se muestra en la figura 4.
Los cuidados con el montaje son básicamente los mismos de la anterior debiendo entonces ser observados los siguientes puntos principales:
a) Q1 puede ser cualquier transistor NPN como, por ejemplo, el BC548, BC238, BC237 o BC547. Equivalentes de terminales y diferentes envolturas como los BC107, BC108 también se pueden utilizar. Evite el exceso de calor al soldar este transistor.
b) Q2 puede ser cualquier transistor PNP de media potencia como el BD136, BD138 o BD140. Observe bien la disposición de sus terminales y se utilice equivalentes ver si la disposición de los terminales es la misma. Los equivalentes que se pueden utilizar son: AC188, TIP28, TIP32.
c) C1 y un capacitor electrolítico cuyo valor puede estar, entre 10 uF y 220 uF dependiendo de la velocidad de los intermitentes que el montador desee. Para un parpadeo más rápido utilice un capacitor de pequeño valor y para un parpadeo más lentos uno de mayor valor. Se pueden utilizar electrolíticos comunes para 16 V debiendo ser observada su polaridad en el momento de la instalación.
d) C2 puede ser cualquier tipo de electrolítico con capacitancia entre 10 uF y 100 uF x 16 V. También en este caso, en algunos aparatos el funcionamiento será perfecto sin el uso de este componente. En su conexión sólo observe su polaridad.
e) R1 es un resistor de 22 a 47 k de 1/8, 1/4 o 1/2 W. En su instalación no es necesario observar polaridad.
f) El potenciómetro R2 puede tener valores entre 220 k y 470 k también no siendo crítico en el caso. Se puede utilizar un potenciómetro con llave, que se utilizará como S1. Para una instalación en frecuencia fija se puede utilizar en su lugar un trimpot. Para conectar el potenciómetro al circuito use hilo flexible con cubierta plástica.
g) L1 y una lámpara que debe tener como máximo una corriente de 100 mA y que debe soportar la tensión de la fuente utilizada. Para la versión experimental alimentada con 6 V sugerimos el uso de la lámpara 7121 D de la PhiIips de 50 mA. Para tensiones diferentes de 6 V se pueden utilizar lámparas de cualquier tipo desde que, de la misma tensión de la fuente, respetando el límite de corriente que es de 100 mA.
h) La fuente de alimentación B1 se forma en la versión normal por 4 pilas pequeñas que se instalan en un soporte adecuado.
PRUEBA Y USO
Terminada el montaje, y conferidas las conexiones, para probar la unidad basta conectarla a la fuente de alimentación, es decir, colocar las pilas en el soporte. Una vez que el interruptor S1 se encienda, ajustando el potenciómetro se obtendrá los puntos en que ocurren las oscilaciones y, por lo tanto, los intermitentes de las lámparas.
Si esto no ocurre, compruebe lo siguiente:
- conexión de los transistores
- polaridad de la fuente de alimentación
- tipo de la lámpara
- estado del capacitor electrolítico
Puede utilizar el parpadeante de varias maneras
Como juguete, para los cochecitos bastará instalar su circuito en una caja y colocarlo debajo del panel. En el panel se instalará un interruptor de 1 polo x 2 posiciones, y el interruptor general.
Dos lámparas delanteras y dos detrás de 60 mA serán controladas por esta llave.
Para demostraciones, el aparato también puede instalarse en una caja con sólo la lámpara, el interruptor y el potenciómetro visibles.
Observamos que el consumo del aparato es relativamente pequeño dependiendo fundamentalmente de la duración de los intermitentes.
Lista de material
Q1 - BC548 o equivalente - transistores
Q2 - BD136 - o equivalente - transistores
R1 - 47 k ohms x 1/8 W - resistencia (amarillo, violeta, naranja)
R2 - 220 k - potenciómetro
C1 - 10 uF x 16 V - capacitor electrolítico
C2 - 100 uF x 16 V - capacitor electrolítico
L1 - lámpara de 6 V x 50 mA - 712ID - Philips
Varios: interruptor simple, puente de terminales, hilos, soldadura, etc.







