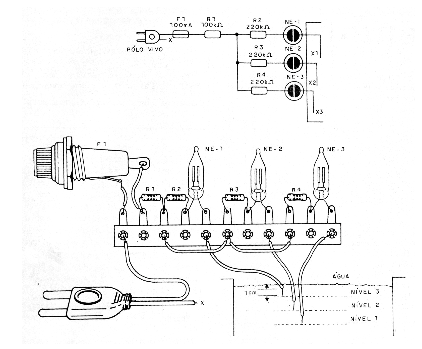
En este circuito, las lámparas de neón se encienden de acuerdo con el nivel del agua en un depósito. El consumo de energía es extremadamente bajo de modo que el aparato puede permanecer conectado permanentemente. Cada lámpara consume menos de un milésimo de vatios en este circuito.
Cuando el agua sube o baja, el contacto con los sensores que son puntas de hilos descascados acciona la lámpara correspondiente. En la figura 1 tenemos el diagrama completo del detector y también su montaje sobre la base de un puente de terminales.
En el ejemplo tenemos tres lámparas que pueden indicar una caja llena, nivel medio o vacía. La conexión debe efectuarse en uno de los polos sólo de la toma (polo vivo), ya que el otro polo representa el propio contacto con el agua del depósito.
Los cables de conexión con las lámparas de neón no deben ser demasiado largos, ya que si se produce el ruido captado hará que las lámparas se enciendan. Los resistores pueden tener de 220k a 470k.
Lista de material
F1 - 100 mA a 300 mA - fusible
R1 - 100k ohms - resistor de 1/8 W - marrón, negro, amarillo
R2, R3, R4 - 220k ohms a 470k ohms x 1/8 W- resistores
NE-1 a NE-3 - Lámparas de neón comunes
Varios: puente de terminales, cable de alimentación, soporte para el fusible, hilos, soldadura, etc.




