La velocidad de un micromotor puede ser variada por la alteración del ciclo activo de la tensión aplicada.
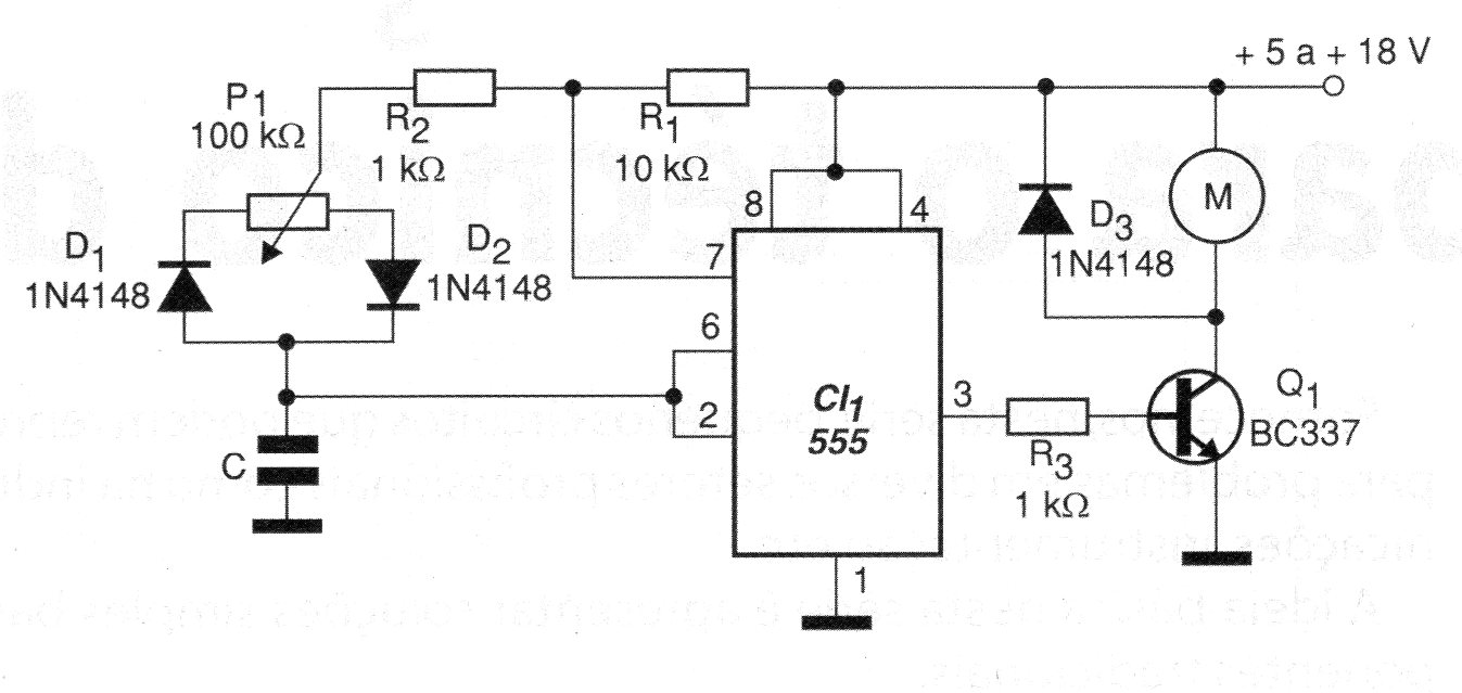
Esta técnica, basada en el control del ancho de pulso puede ser implementada con facilidad con la utilización del circuito mostrado en la figura 1.
En el circuito presentado el ciclo activo está determinado por el recorrido de la corriente de carga y descarga de C a través de dos diodos y de las ramas de un potenciómetro de control.
El capacitor C puede tener valores en el rango de 100 pF a 100 nF según las características del motor a ser controlado.
Este capacitor influirá en la frecuencia de operación del circuito que no debe ser la de resonancia del motor.
El circuito funciona satisfactoriamente con tensiones de 5 a 12 V y la corriente máxima del motor depende del transistor usado.
Con el transistor indicado, pequeños motores de hasta 500 mA pueden ser controlados.
En la figura 2 tenemos la placa de circuito impreso para este montaje.
Dependiendo de la gama de potencias a aplicar en el motor, el potenciómetro puede tener su valor aumentado a hasta 1 M ohms.
En realidad, el montador puede jugar con los valores de diversos componentes de la red de frecuencia del circuito para obtener el mejor rendimiento con el motor utilizado.
Lista de material
CI-1 - 555 - circuito integrado
Q1 - BC337 - transistores NPN de media potencia
D1, D2 - 1N4148 - diodos de uso general
R1 - 10 k ohms x 1/8 W - resistor - marrón, negro, naranja
R2 - 1 k ohms x 1/8 W - resistor - marrón, negro, rojo
R3 - 1 k ohms - marrón, negro, rojo
P1 - 100 k ohms - pote
C - capacitor de 100 pF a 100 nF - ver texto





