Un instrumento de utilidad indiscutible en la bancada de reparaciones electrónicas o incluso del montador es el seguidor de señales. Con él, podemos seguir las señales en las diversas etapas de los aparatos electrónicos, tales como, radios, amplificadores, televisores, etc., para llegar a la que tenga funcionamiento deficiente. Una vez separada el paso con problemas, es mucho más fácil hacer la localización del componente responsable: basta con el multímetro inicialmente midiendo tensiones y luego, probando los propios componentes.
El seguidor que describimos es ideal para el principiante por su simplicidad.
Sin embargo, es lo suficientemente sensible para localizar problemas en la mayoría de los aparatos.
Alimentado por pilas comunes, cabe fácilmente en una caja plástica poco mayor que una jabonera.
En realidad, el componente que determina el tamaño de la caja es el altavoz.
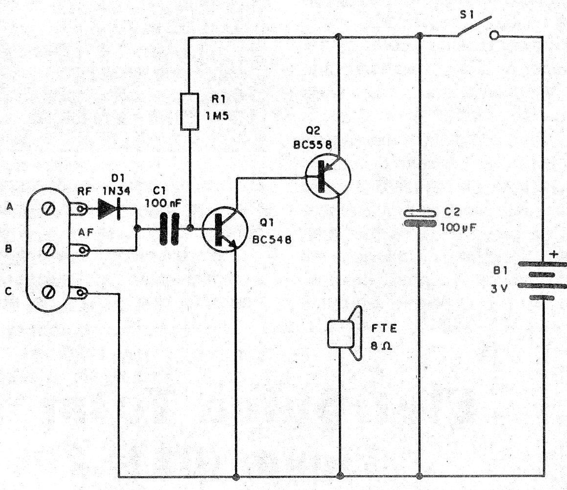
El circuito tiene dos entradas, siendo una para señales de audio (A) y otra para señales de alta frecuencia (RF) que es la entrada (B).
En esta entrada se aplican señales de las Fls de receptores de radio y TV, etapas de Fl y salida de pequeños transmisores o moduladores.
El punto (C) del diagrama es la masa del circuito, es decir, donde será conectada la garra de retorno del circuito, normalmente en el chasis o negativo del aparato que está siendo analizado.
Los transistores utilizados admite muchos equivalentes ya que prácticamente cualquier NPN o PNP de uso general sirve.
En la figura 1, tenemos el diagrama completo del seguidor de señales.
En la figura 2 tenemos el modo de hacer el montaje sobre la base de un puente de terminales común.
El único resistor es de 1/8 W y su valor puede ser alterado para mejorar la ganancia y la fidelidad según las características de los transistores usados.
Los valores de esta resistencia pueden quedar entre 470 k ohms y 2,2 M ohmios.
El altavoz de 8 ohms debe tener dimensiones de acuerdo con la caja usada.
El capacitor C, tanto puede ser cerámico como de poliéster y C2 es un electrolítico de 6 V o más y su valor puede quedar entre 47 uF y 1 000 uF.
Para completar el montaje, el lector necesitará un hilo con una garra jacaré y otro con una punta de prueba.
La punta de prueba puede ser de cualquier tipo, como las utilizadas en multímetros.
La conexión de los puntos A, B y C se puede realizar a través de una barra de terminales con tornillos o bornes.
Para probar el aparato, basta con conectar la garra-jacaré en el negativo de las pilas de un radito y conectando la punta de prueba en la entrada B, nos situamos en el cursor del potenciómetro de volumen de esta radio.
La señal debe escucharse con claridad del altavoz.





