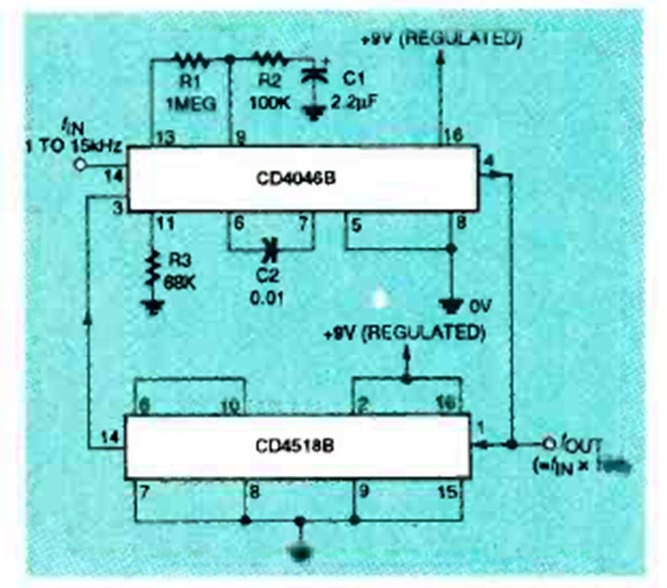
Este circuito multiplica la frecuencia de una señal por 100. El circuito fue encontrado en la edición de octubre de 1994 de la revista Electronics Now. El PLL no funciona por encima de aproximadamente una docena de megahertz.
Este es un simple montaje didáctico que se puede realizar sobre la base de un puente de terminales o...
Si usted tiene miedo de conectar los aparatos que usted mismo monta directamente en la toma, pues...
Este oscilador puede generar señales de 100 kHz hasta más de 50 MHz dependiendo del cristal usado y del...