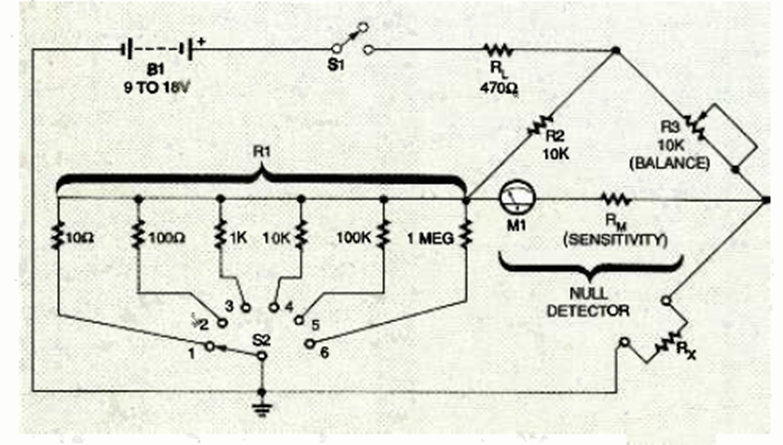
Encontramos este circuito en la edición de septiembre de 1995 de la revista Electronics Now. El circuito tiene 6 escalas para medidas de resistencia y utiliza un indicador analógico de 50 uA a 1 mA.
Este circuito amplificador de corriente utiliza un amplificador operacional y tres transistores. La...
Este antiguo circuito de la década de 1970 utiliza transistores de germanio y es alimentado por batería...
Una configuración un poco diferente de la anterior, para un oscilador controlado por toque, se...