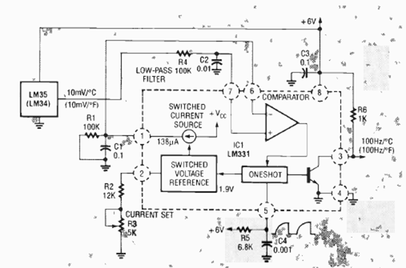
Encontramos este circuito en la edición de marzo de 1992 de la revista Radio Electronics. El circuito proporciona 100 Hz por cada grado Celsius o Fahrenheit.
Este circuito amplificador de corriente utiliza un amplificador operacional y tres transistores. La...
Este antiguo circuito de la década de 1970 utiliza transistores de germanio y es alimentado por batería...
Una configuración un poco diferente de la anterior, para un oscilador controlado por toque, se...