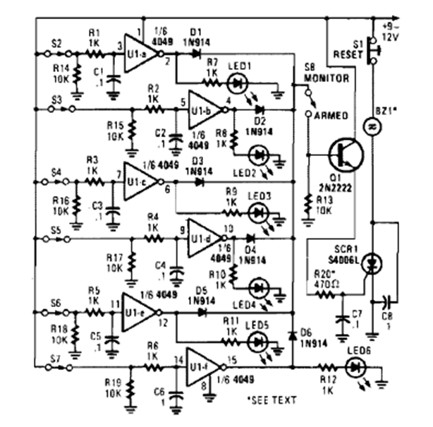
Encontramos este circuito en la Enciclopedia de Circuitos Electrónicos de 1995. El circuito activa un zumbador desde varios sensores. La edición es de Poptronics.

Encontramos este circuito en la Enciclopedia de Circuitos Electrónicos de 1995. El circuito activa un zumbador desde varios sensores. La edición es de Poptronics.
