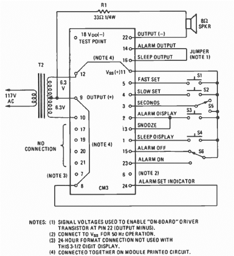
Este circuito es de un módulo de reloj digital Fairchild que se muestra en la revista Radio Electronics de marzo de 1977. El circuito requirió pocos elementos externos, incluido un transformador común.
Los circuitos de alta frecuencia, como los que operan con señales de FM, son críticos no debiendo...
El circuito presentado en la figura 1 hace encender un LED blanco de alto rendimiento cuando falta luz,...
Con este oscilador podemos obtener una señal de 10 W de potencia en la frecuencia de 100kHz, El...