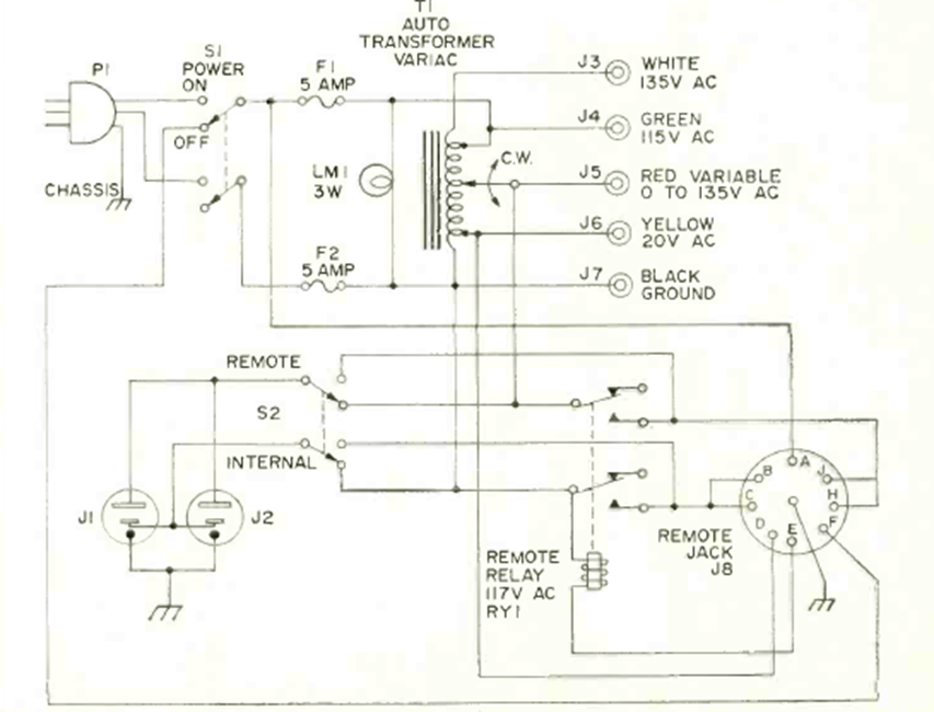
Esto representa un circuito autotransformador muy útil en el banco. Lo encontramos en la revista Radio Electrónica de septiembre de 1970. El transformador debe ser acorde con lo que se quiere suministrar en la salida.
Los circuitos de alta frecuencia, como los que operan con señales de FM, son críticos no debiendo...
El circuito presentado en la figura 1 hace encender un LED blanco de alto rendimiento cuando falta luz,...
Con este oscilador podemos obtener una señal de 10 W de potencia en la frecuencia de 100kHz, El...