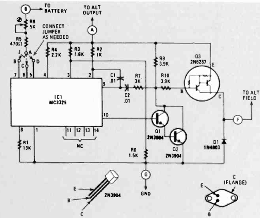
Este circuito fue encontrado en la revista Radio Electronics de junio de 1980. El circuito hace uso de un integrado de la época y de una potencia Darlington que debe estar equipada con un disipador de calor.
Los circuitos de alta frecuencia, como los que operan con señales de FM, son críticos no debiendo...
El circuito presentado en la figura 1 hace encender un LED blanco de alto rendimiento cuando falta luz,...
Con este oscilador podemos obtener una señal de 10 W de potencia en la frecuencia de 100kHz, El...