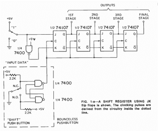
Encontrado en un artículo de la revista Radio Electronics de diciembre de 1974, este circuito tiene propósitos educativos y puede usarse para enseñar cómo funciona un registro de desplazamiento (shift register). A las salidas se pueden conectar LED.
Este pequeño radio para la banda AM utiliza cuatro transistores con un amplificador complementario para...
Este relé de luz o sobre, según las posiciones del LDR y de P1 es extremadamente sensible, pues utiliza...
Este circuito se puede utilizar en el coche, para mantener la luz de cortesía encendida después de la...