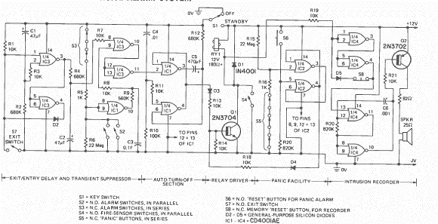
Este circuito fue encontrado en un artículo de la revista Radio Electronics de mayo de 1975. El circuito tiene varias características y funciona con una fuente de 12 V o una batería.
Este pequeño radio para la banda AM utiliza cuatro transistores con un amplificador complementario para...
Este relé de luz o sobre, según las posiciones del LDR y de P1 es extremadamente sensible, pues utiliza...
Este circuito se puede utilizar en el coche, para mantener la luz de cortesía encendida después de la...