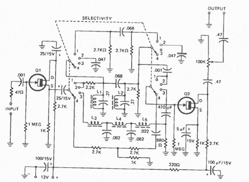
Este sofisticado filtro para señales de audio fue encontrado en la revista Radio Electronics. Las frecuencias están determinadas por circuitos LC. El circuito tiene selectividad seleccionada mediante un interruptor.
Este pequeño radio para la banda AM utiliza cuatro transistores con un amplificador complementario para...
Este relé de luz o sobre, según las posiciones del LDR y de P1 es extremadamente sensible, pues utiliza...
Este circuito se puede utilizar en el coche, para mantener la luz de cortesía encendida después de la...