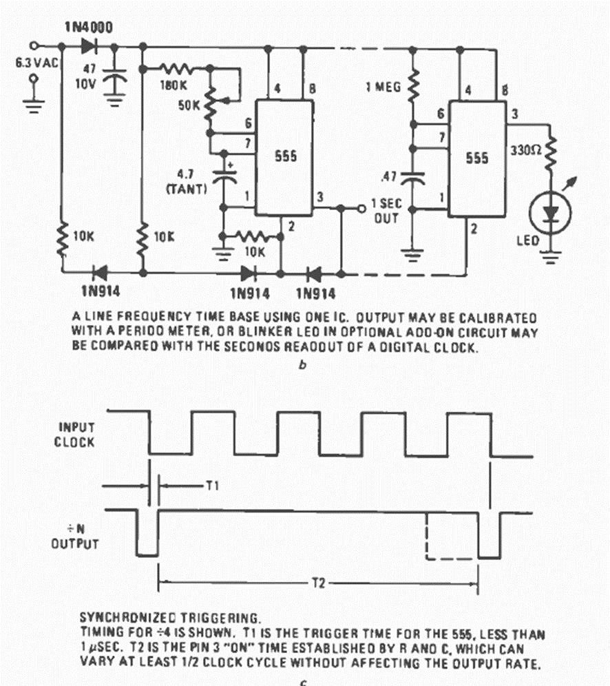
Este circuito sincronizado por la red eléctrica simplemente produce 1 pulso por segundo. El circuito es de una revista Radio Electronics de mayo de 1977.
Esta fuente fue originalmente diseñada para alimentar nuestro circuito anterior (CIR6483S) que consiste...
Este circuito receptor de un solo transistor se encontró en la revista Radio Electronics de julio...
Este circuito se encontró en una publicación americana de los años 50. Los transistores son de...